GM Service Manual Online
For 1990-2009 cars only

DTC P0712 Transmission Fluid Temperature (TFT) Sensor Circuit Low Input Gas


Object Number: 327716  Size: MF
Automatic Transmission Components
Automatic Transmission Controls Schematics Gas
OBD II Symbol Description Notice
Handling ESD Sensitive Parts Notice
Handling ESD Sensitive Parts Notice

Circuit Description

The automatic transmission fluid temperature (TFT) sensor is part of the 4L80-E automatic transmission (A/T) wiring harness assembly. The TFT sensor is a resistor, or thermistor, which changes value based on temperature. The sensor has a negative-temperature coefficient. This means that as the temperature increases, the resistance decreases, and as the temperature decreases the resistance increases. The vehicle control module (VCM) supplies a 5-volt reference signal to the sensor on circuit 1227 and measures the voltage drop in the circuit. When the transmission fluid is cold, the sensor resistance is high and the VCM detects high signal voltage. As the fluid temperature warms to a normal operating temperature, the resistance becomes less and the signal voltage decreases. The VCM uses this information to control shift quality and torque converter clutch apply.

If the VCM detects a continuous short to ground in the TFT sensor or signal circuit, then DTC P0712 sets. DTC P0712 is a type D DTC.

Conditions for Running the DTC

The ignition is ON.

Conditions for Setting the DTC

    • The TFT sensor indicates a voltage of less than 0.14 volts.
    • All conditions met for 15 seconds.

Action Taken When the DTC Sets

    • The VCM does not illuminates the malfunction indicator lamp (MIL).
    • The VCM commands increased line pressure.
    • The VCM freezes shift adapts.
    • The VCM determines a TFT default transmission temperature (TFT) using the following matrix:
       - If the engine run time is less than 60 seconds then default TFT equals the intake air temperature (IAT), plus 5 degrees.
       - If the engine coolant temperature (ECT) is less than 85°C (185°F) then default TFT equals IAT plus 10 degrees.
       - If the ECT is 85-110°C (185-230°F) then default TFT equals ECT plus 10 degrees.
       - If the ECT is greater than 110°C (230°F) then default TFT is set to 140°C (284°F) and transmission shift pattern is in hot mode
       - If ECT and TFT DTCs are both set then default TFT is 140°C (284°F).
    • The VCM stores DTC P0712 in VCM history.

Conditions for Clearing the DTC

    • A scan tool clears the DTC from VCM history.
    •  The VCM clears the DTC from VCM history if the vehicle completes 40 warm-up cycles without a non-emission-related diagnostic fault occurring.
    • The VCM cancels the DTC default actions when the fault no longer exists and the ignition switch is OFF long enough in order to power down the VCM.

Diagnostic Aids

    • Inspect the wiring at the VCM, the transmission connector and all other circuit connecting points for the following conditions:
       - A backed out terminal
       - A damaged terminal
       - Reduced terminal tension
       - A chafed wire
       - A broken wire inside the insulation.
       - Moisture intrusion
       - Corrosion
    • When diagnosing for an intermittent short or open, massage the wiring harness while watching the test equipment for a change.
    • Test the TFT sensor at various temperatures in order to evaluate the possibility of a skewed (mis-scaled) sensor. Use the Temperature vs Resistance table. A skewed sensor may cause delayed garage shifts or TCC complaints.
    • Verify the customer driving habits, trailer towing, weight, or towing in OVERDRIVE.
    • First diagnose and clear any engine DTCs or TP sensor codes that are present. Then inspect for any transmission DTCs that may have reset.

Test Description

The numbers below refer to the step numbers on the diagnostic table.

  1. This step tests for a short to ground or a "skewed" sensor by verifying the fault still exists.

  2. This step tests for an internal fault within the transmission by creating an open.

  3. This step inspects circuit 1227 of the A/T wiring harness assembly for being shorted to ground.

DTC P0712

Step

Action

Value(s)

Yes

No

1

Was the Powertrain On-Board Diagnostic (OBD) System Check performed?

--

Go to Step 2

Go to Powertrain On Board Diagnostic (OBD) System Check (5.7L) or Powertrain On Board Diagnostic (OBD) System Check (7.4L)

2

Perform the Transmission Fluid Checking Procedure.

Refer to Transmission Fluid Check .

Was the fluid checking procedure performed?

--

Go to Step 3

Go to Transmission Fluid Check

3

  1. Install the Scan Tool .
  2. With the engine OFF, turn the ignition switch to the RUN position.
  3. Important: Before clearing the DTCs, use the scan tool in order to record the Failure Records. Using the Clear Info function erases the Failure Records from the VCM.

  4. Record the Failure Records.
  5. Clear the DTCs.

Does the scan tool display a TFT Sensor signal voltage less than the specified value?

0.14 volts

Go to Step 4

Go to Diagnostic Aids

4

  1. Turn the ignition OFF.
  2. Disconnect the transmission 20-way harness connector. Multiple DTCs may set.
  3. Turn the ignition switch to the RUN position.

Does the scan tool display a TFT Sensor signal voltage greater than the specified value?

4.92 volts

Go to Step 5

Go to Step 9

5

  1. Turn the ignition OFF.
  2. Install the J 39775 jumper harness on the transmission side of the 20-way connector (Automatic Transmission Connector End View).
  3. Using the J 39200 digital multimeter (DMM) and the J 35616 connector test adapter kit, measure the resistance between terminals L and M.
  4. Refer to Electronic Component Description .

Is the resistance within the specified values?

16kohms at -10°C (14°F) to 133ohms at 110°C (230°F)

Go to Step 6

Go to Step 7

6

Measure the resistance between terminal L and a good ground on the transmission case.

Is the resistance less than the specified value?

50 kohms

Go to Step 7

Go to Diagnostic Aids

7

  1. Disconnect the TFT Sensor from the A/T wiring harness.
  2. Measure the resistance between terminals L and M of the jumper harness.

Is the resistance less than the specified value?

50kohms

Go to Step 10

Go to Step 8

8

Replace the TFT sensor.

Refer to Temperature Sensors Replacement.

Is the replacement complete?

--

Go to Step 13

--

9

Inspect circuit 1227 (YEL/BLK) for a short to ground.

Refer to General Electrical Diagnosis in Wiring Systems.

Was a short to ground condition found?

--

Go to Step 13

Go to Step 11

10

Replace the A/T wiring harness assembly.

Refer to Wiring Harness Replacement.

Is the replacement complete?

--

Go to Step 13

--

11

Inspect the VCM for faulty connections.

Was the condition found?

--

Go to Step 13

Go to Step 12

12

Replace the VCM.

Refer to VCM Replacement/Programming (5.7L) or VCM Replacement/Programming (7.4L) in Engine Controls.

Is the replacement complete?

--

Go to Step 13

--

13

Perform the following procedure in order to verify the repair:

  1. Select DTC.
  2. Select Clear Info.
  3. Be sure the TFT Sensor indicates a voltage greater than 0.16 volts for 15 seconds.
  4. Select Specific DTC.
  5. Enter DTC P0712.

Has the test run and passed?

--

System OK

Go to Step 1

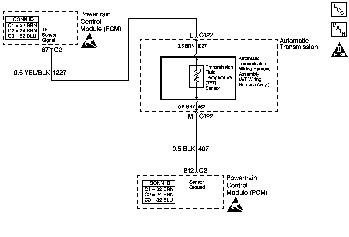
DTC P0712 Transmission Fluid Temperature (TFT) Sensor Circuit Low Input Diesel


Object Number: 339269  Size: MF
Automatic Transmission Components
Automatic Transmission Controls Schematics Diesel
OBD II Symbol Description Notice
Handling ESD Sensitive Parts Notice
Handling ESD Sensitive Parts Notice

Circuit Description

The automatic transmission fluid temperature (TFT) sensor is part of the 4L80-E automatic transmission (A/T) wiring harness assembly. The TFT sensor is a resistor, or thermistor, which changes value based on temperature. The sensor has a negative-temperature coefficient. This means that as the temperature increases, the resistance decreases, and as the temperature decreases the resistance increases. The powertrain control module (PCM) supplies a 5-volt reference signal to the sensor on circuit 1227 and measures the voltage drop in the circuit. When the transmission fluid is cold, the sensor resistance is high and the PCM detects high signal voltage. As the fluid temperature warms to a normal operating temperature, the resistance becomes less and the signal voltage decreases. The PCM uses this information to control shift quality and torque converter clutch apply.

DTC P0712 is a type D DTC.

Conditions for Running the DTC

    • The system voltage is 8.0-18.0 volts.
    • The engine speed is greater than 475 RPM for greater than 7 seconds.
    • No engine coolant temperature (ECT) DTCs P0117 or P0118.

Conditions for Setting the DTC

The TFT is greater than 150°C (300°F) for 15 seconds.

Action Taken When the DTC Sets

    • The PCM does not illuminate the malfunction indicator lamp (MIL).
    • The PCM commands increased line pressure.
    • The PCM freezes shift adapts.
    • The PCM determines a TFT default using the following matrix:
       - If the engine run time is less than 60 seconds, then default TFT equals the intake air temperature (IAT) plus 5 degrees.
       - If the engine coolant temperature (ECT) is less than 85°C (185°F), then default TFT equals IAT plus 10 degrees.
       - If the ECT is 85-110°C (185-230°F), then default TFT equals ECT plus 10 degrees.
       - If the ECT is greater 110°C (230°F), then default TFT is set to 140°C (284°F) and transmission shift pattern is in Hot Mode.
       - If ECT and TFT DTCs are both set, then default TFT is 140°C (284°F).
    • The PCM stores DTC P0712 in PCM history.

Conditions for Clearing the DTC

    • A scan tool clears the DTC from PCM history.
    • The PCM clears the DTC from PCM history if the vehicle completes 40 consecutive warm-up cycles without a non-emission-related diagnostic fault occurring.
    • The PCM cancels the DTC default actions when the fault no longer exists and the ignition switch is OFF long enough in order to power down the PCM.

Diagnostic Aids

    • Inspect the wiring at the PCM, the transmission connector and all other circuit connecting points for the following conditions:
       - A backed out terminal
       - A damaged terminal
       - Reduced terminal tension
       - A chafed wire
       - A broken wire inside the insulation.
       - Moisture intrusion
       - Corrosion
    • When diagnosing for an intermittent short or open, massage the wiring harness while watching the test equipment for a change.
    • First diagnose and clear any engine DTCs or APP sensor DTCs that are present, then inspect for any transmission DTCs that may have reset.
    • DTC P0218 may set approximately 600 seconds after DTC P0712 has set. Follow the diagnostic table for DTC P0712 before proceeding to the diagnostic table for DTC P0218.

Test Description

The numbers below refer to the step numbers on the diagnostic table.

  1. This step tests for a short to ground or a skewed sensor by verifying the fault still exists.

  2. This step tests for an internal fault within the transmission by creating an open.

  3. This step inspects circuit 1227 of the A/T wiring harness assembly for being shorted to ground.

DTC P0712 (Diesel)

Step

Action

Value(s)

Yes

No

1

Was the Powertrain On-Board Diagnostic (OBD) System Check performed?

--

Go to Step 2

Go to Powertrain On Board Diagnostic (OBD) System Check

2

Perform the Transmission Fluid Checking Procedure.

Refer to Transmission Fluid Check .

Did you perform the fluid checking procedure?

--

Go to Step 3

Go to Transmission Fluid Check

3

  1. Install the Scan Tool .
  2. With the engine OFF, turn the ignition switch to the RUN position.
  3. Important: Before clearing the DTCs, use the scan tool in order to record the Failure Records. Using the Clear Info function erases the Failure Records from the PCM.

  4. Record the Failure Records.
  5. Clear the DTC.

Does the scan tool display a TFT sensor voltage less than the specified value?

0.13 volts

Go to Step 4

Go to Diagnostic Aids

4

  1. Turn the ignition OFF.
  2. Disconnect the transmission 20-way harness connector (multiple DTCs will set).
  3. Turn the ignition ON.

Does the scan tool display a TFT sensor voltage greater than the specified value?

4.92 volts

Go to Step 5

Go to Step 9

5

  1. Turn the ignition OFF.
  2. Install the J 39775 jumper harness on the transmission side of the 20-way connector.
  3. Using the J 39200 digital multimeter (DMM) and the J 35616 connector test adapter kit, measure the resistance between terminals L and M.
  4. Refer to Electronic Component Description .

Is the resistance within specified values?

16,000ohms at -10°C (14°F) to 133ohms at 110°C (230°F)

Go to Step 6

Go to Step 7

6

Measure the resistance between terminal L and a good ground on the transmission case.

Is the resistance less than the specified value?

50kohms

Go to Step 7

Go to Diagnostic Aids

7

  1. Disconnect the TFT sensor.
  2. Refer to Wiring Harness Replacement.

  3. Measure the resistance between terminals L and M of the jumper harness.

Is the resistance less than the specified value?

50kohms

Go to Step 10

Go to Step 8

8

Replace the TFT sensor.

Refer to Wiring Harness Replacement.

Is the replacement complete?

--

Go to Step 13

--

9

Inspect circuit 1227 (YEL/BLK) for a short to ground.

Refer to General Electrical Diagnosis in Wiring Systems.

Was the condition found?

--

Go to Step 13

Go to Step 11

10

Replace the automatic transmission wiring harness assembly.

Refer to Wiring Harness Replacement.

Is the replacement complete?

--

Go to Step 13

--

11

Inspect the PCM for faulty connections.

Was the condition found?

--

Go to Step 13

Go to Step 12

12

Replace the PCM.

Refer to Powertrain Control Module Replacement/Programming in Engine Controls.

Is the replacement complete?

--

Go to Step 13

--

13

Perform the following procedure in order to verify the repair:

  1. Select DTC.
  2. Select Clear Info.
  3. Be sure the TFT sensor indicates a voltage greater than 0.16 volts for 10 seconds.
  4. Select Specific DTC.
  5. Enter DTC P0712.

Has the test run and passed?

--

System OK

Go to Step 1