GM Service Manual Online
For 1990-2009 cars only
Makes
🢒
Chevrolet
🢒
2000
🢒
Chevy C Pickup - 2WD
🢒
Engine
🢒
Engine Cooling
🢒 Cooling Fan Schematics
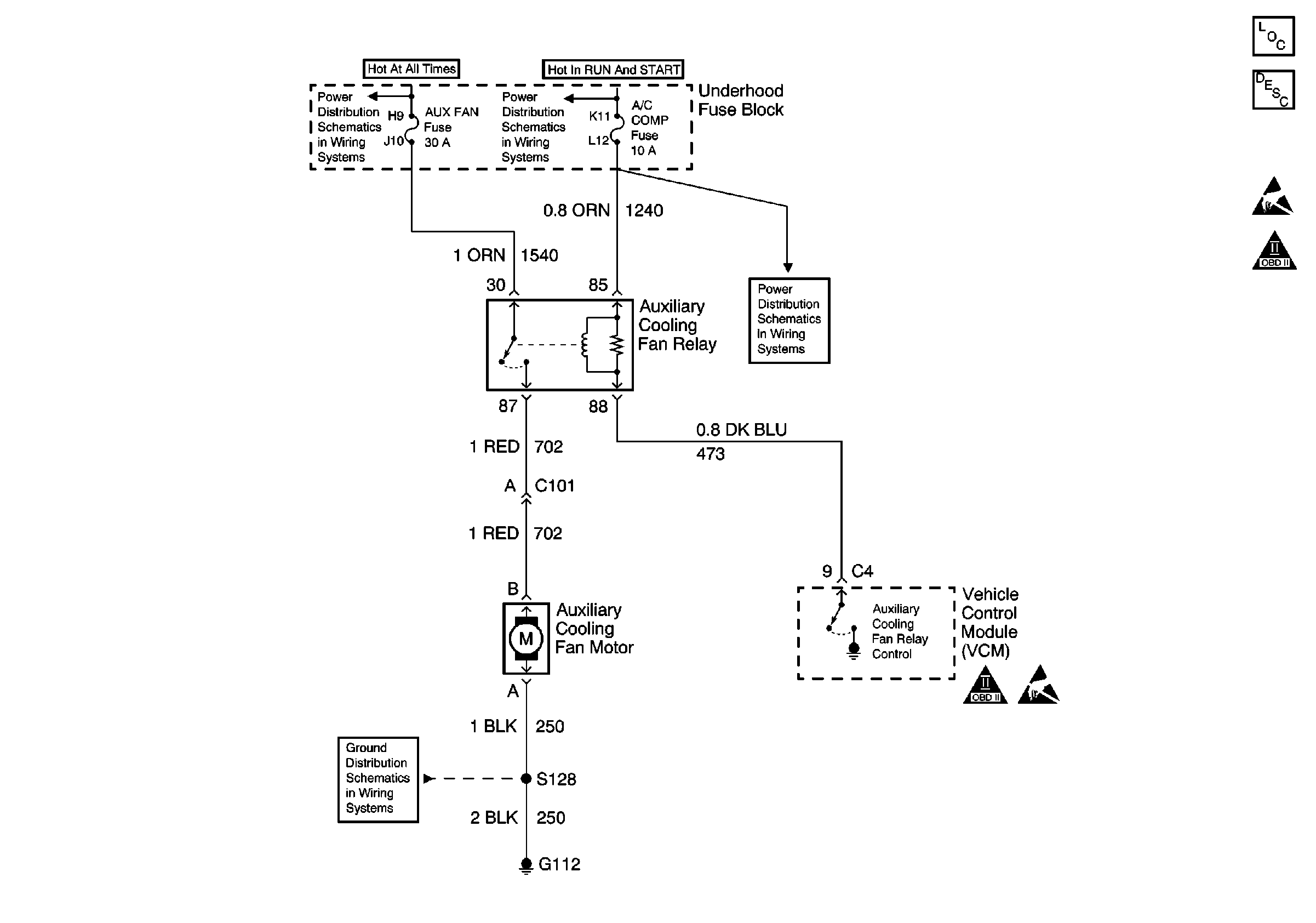
Auxiliary Cooling Fan Relay, Auxiliary Fan Motor
Cooling System Components
Engine Cooling Fan Circuit Description
FRONT HEATED SEATS, REAR HEATED SEATS, HTD MIR, AUX FAN, and RR DEFOG Fuses
Thumbnail, DTC P0711, P0712, P0713, P1810
ECM-B, HORN and A/C COMP Fuses
G112
Handling Electrostatic Discharge Sensitive Parts Notice
OBDII Symbol Description Notice
OBDII Symbol Description Notice
Handling Electrostatic Discharge Sensitive Parts Notice