GM Service Manual Online
For 1990-2009 cars only
Makes
🢒
Chevrolet
🢒
2000
🢒
Chevy C Pickup - 2WD
🢒
Body and Accessories
🢒
Lighting Systems
🢒 Headlights Schematics
Figure
1:
LIGHTING Fuse 8
Lighting Systems Components
Headlights Circuit Description
Headlamps
Indicator Lamps
Handling Electrostatic Discharge Sensitive Parts Notice
G103 and G104
Handling Electrostatic Discharge Sensitive Parts Notice
LIGHTING and BATTERY Fuses
LIGHTING and BATTERY Fuses
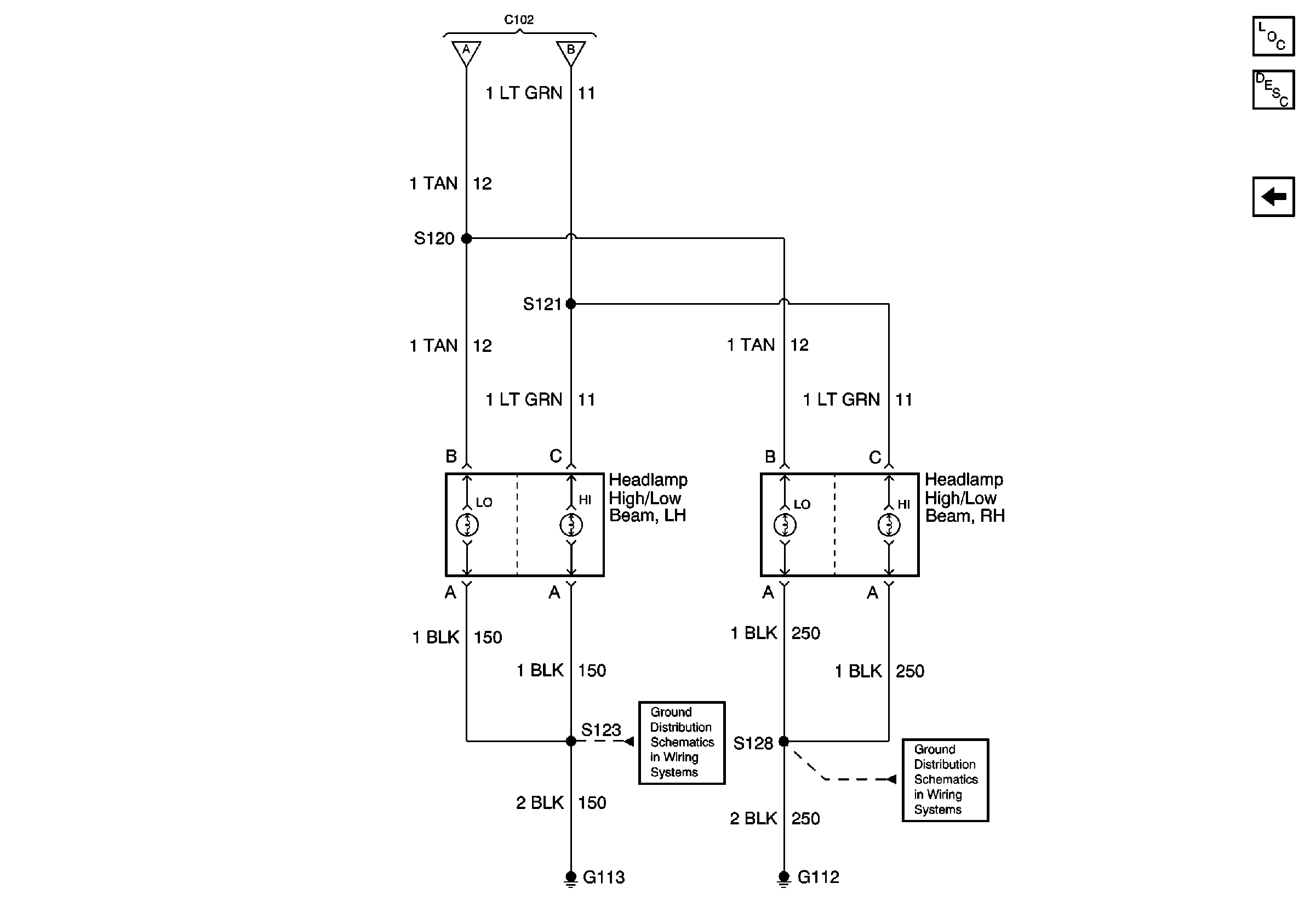
Headlamps
Headlamps
Figure
2:
Headlamps
Lighting Systems Components
Headlights Circuit Description
LIGHTING Fuse 8
LIGHTING Fuse 8
LIGHTING Fuse 8
G113
G112