GM Service Manual Online
For 1990-2009 cars only
Makes
🢒
Chevrolet
🢒
2000
🢒
Chevy C Pickup - 2WD
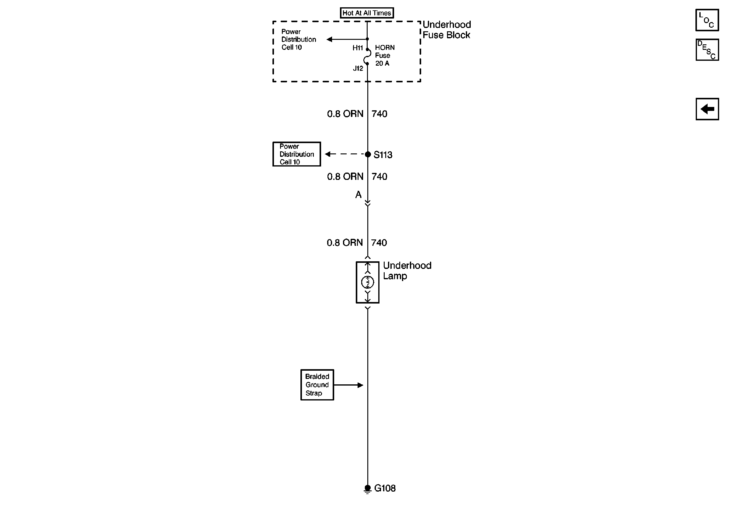
🢒 Cell 114: HORN Fuse, CIG LTR Fuse 13, Underhood and Reel Lamps
Cell 114: HORN Fuse, CIG LTR Fuse 13, Underhood and Reel Lamps
Cell 114: HORN Fuse, CIG LTR Fuse 13, Underhood and Reel Lamps
Lighting Systems Components
Interior Lights Circuit Description
Cell 114: CTSY Fuse 3, Illuminated Vanity Mirrors
Cell 10: ECM-B, HORN and A/C COMP Fuses
Cell 10: Battery, and Underhood Fuse Block