GM Service Manual Online
For 1990-2009 cars only
Makes
🢒
Chevrolet
🢒
2000
🢒
Chevy C Pickup - 2WD
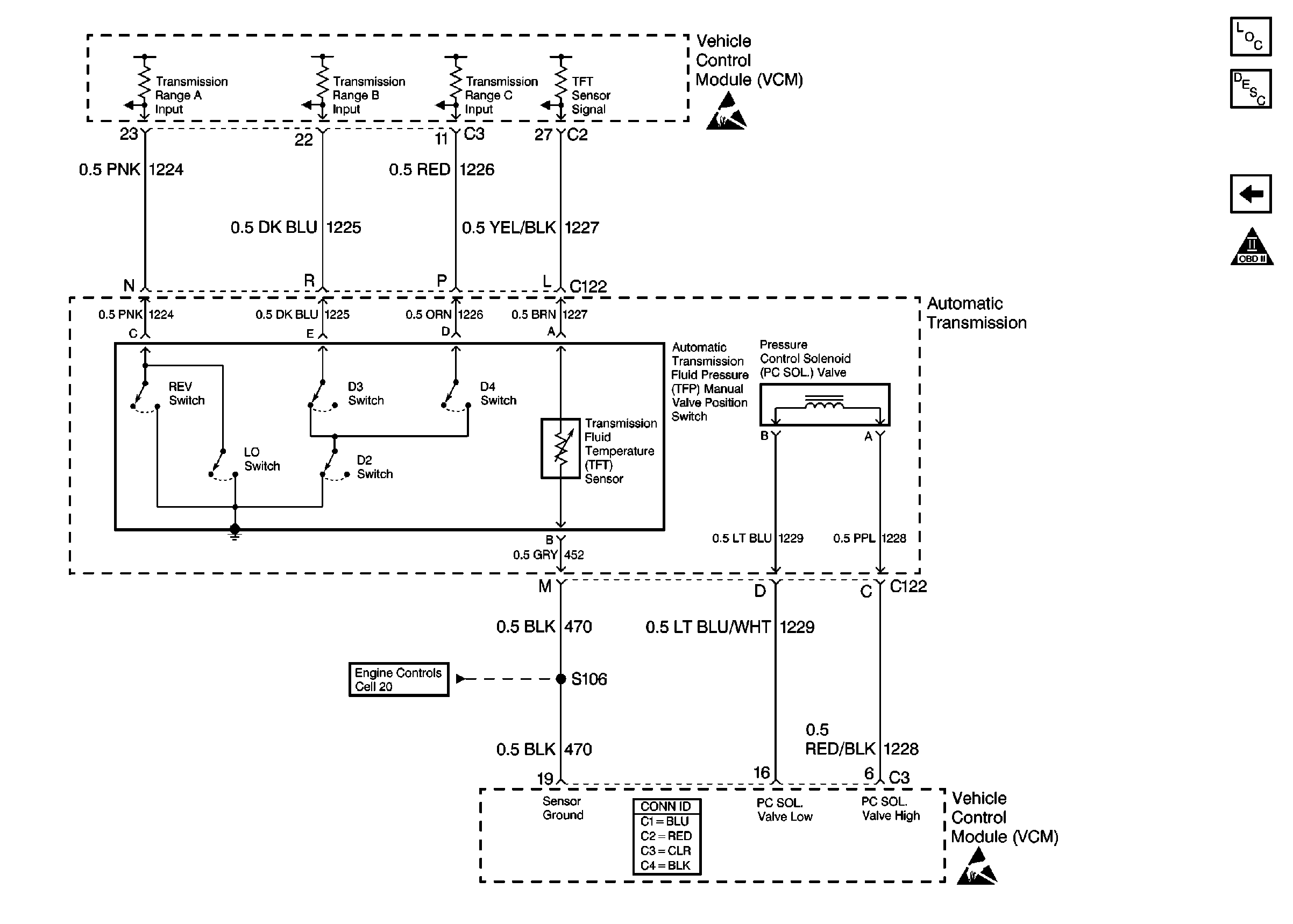
🢒 Automatic Transmission, VCM
Automatic Transmission, VCM
Automatic Transmission, VCM
Transmission Component Location
Transmission Component and System Description
VSS, 4WD and Upshift Controls
OBD II Symbol Description Notice
Handling ESD Sensitive Parts Notice
Engine Sensors
VCM Connector End Views
Handling ESD Sensitive Parts Notice