GM Service Manual Online
For 1990-2009 cars only
Makes
🢒
Chevrolet
🢒
2000
🢒
Chevy C Pickup - 2WD
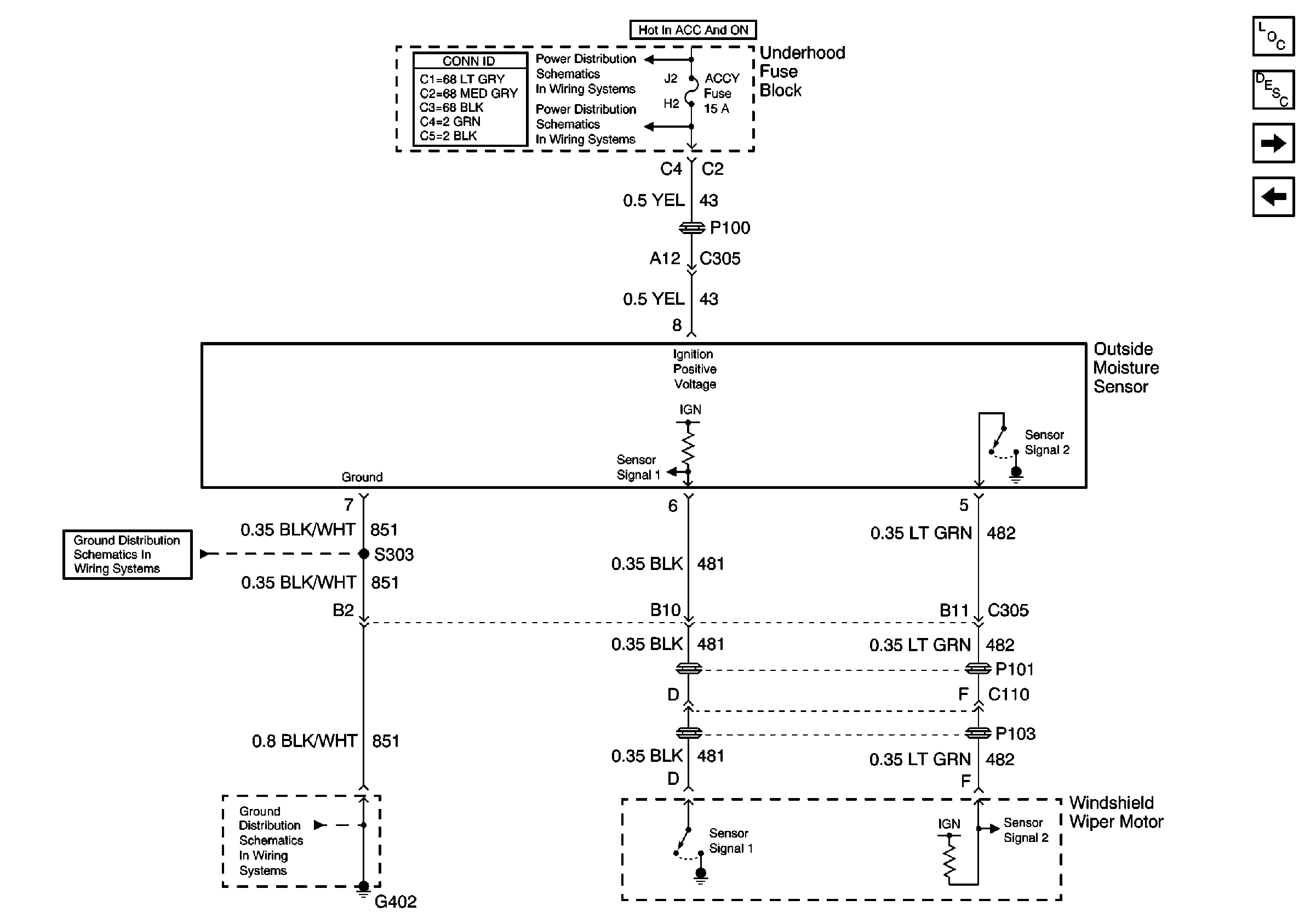
🢒 Outside Moisture Sensor
Outside Moisture Sensor
Outside Moisture Sensor
Wiper/Washer System Components
Wiper/Washer System Circuit Description
Washer Solvent Level Switch
Wiper/Washer Switch and Pump
Power and Grounding Connector End Views Fuse Blocks and Ignition Switch
Rear Fuse Block Battery Voltage
Rear Fuse Block Battery Voltage
Ground Distribution Schematics
G402 - Backup Lamps