GM Service Manual Online
For 1990-2009 cars only
Makes
🢒
Chevrolet
🢒
2000
🢒
Chevy C Pickup - 2WD
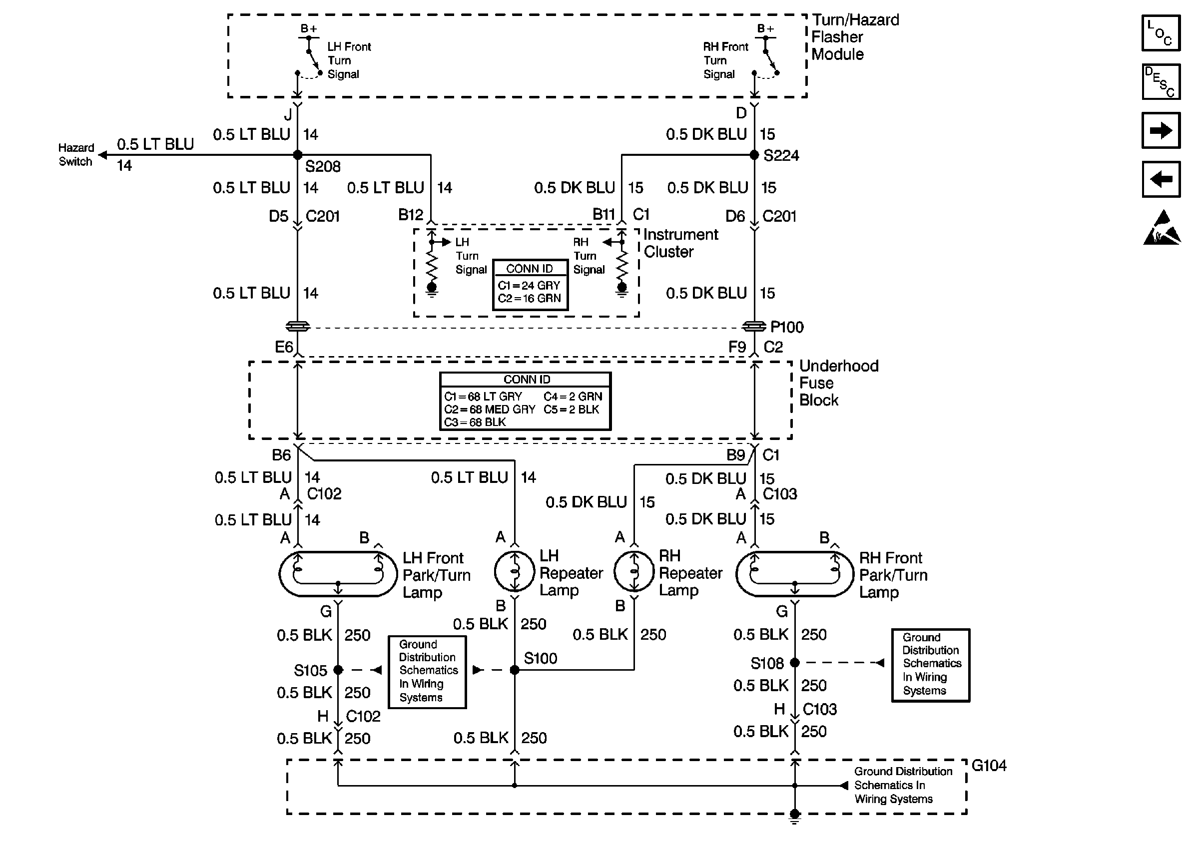
🢒 Front Park/Turn and Repeater Lamps
Front Park/Turn and Repeater Lamps
Front Park/Turn and Repeater Lamps
Lighting Systems Components
Exterior Lights Circuit Description
Standing and Position Lamp Relays
Tail Lamps
Handling ESD Sensitive Parts Notice
G104 - Lamps and Other Items
G104 - Relays, Horns and Other Items
Turn/Hazard Flasher Module, Hazard Switch