GM Service Manual Online
For 1990-2009 cars only
Makes
🢒
Chevrolet
🢒
2000
🢒
Chevy C Pickup - 2WD
🢒 Class 2 Dimming Communication
Class 2 Dimming Communication
Class 2 Dimming Communication
Lighting Systems Components
Interior Lights Dimming Circuit Description
Dimming Control
Handling ESD Sensitive Parts Notice
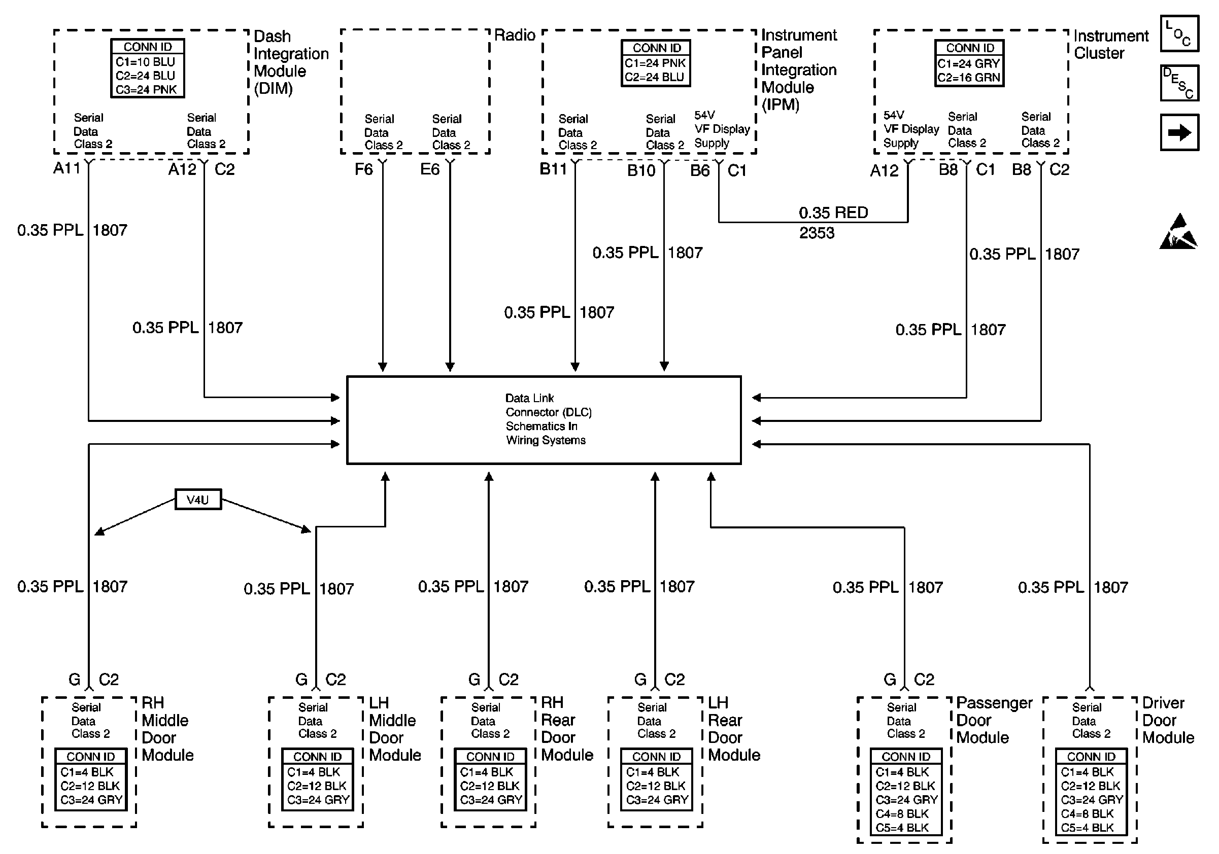
Data Link Connector Schematics