GM Service Manual Online
For 1990-2009 cars only
Makes
🢒
Chevrolet
🢒
2000
🢒
Chevy C Pickup - 2WD
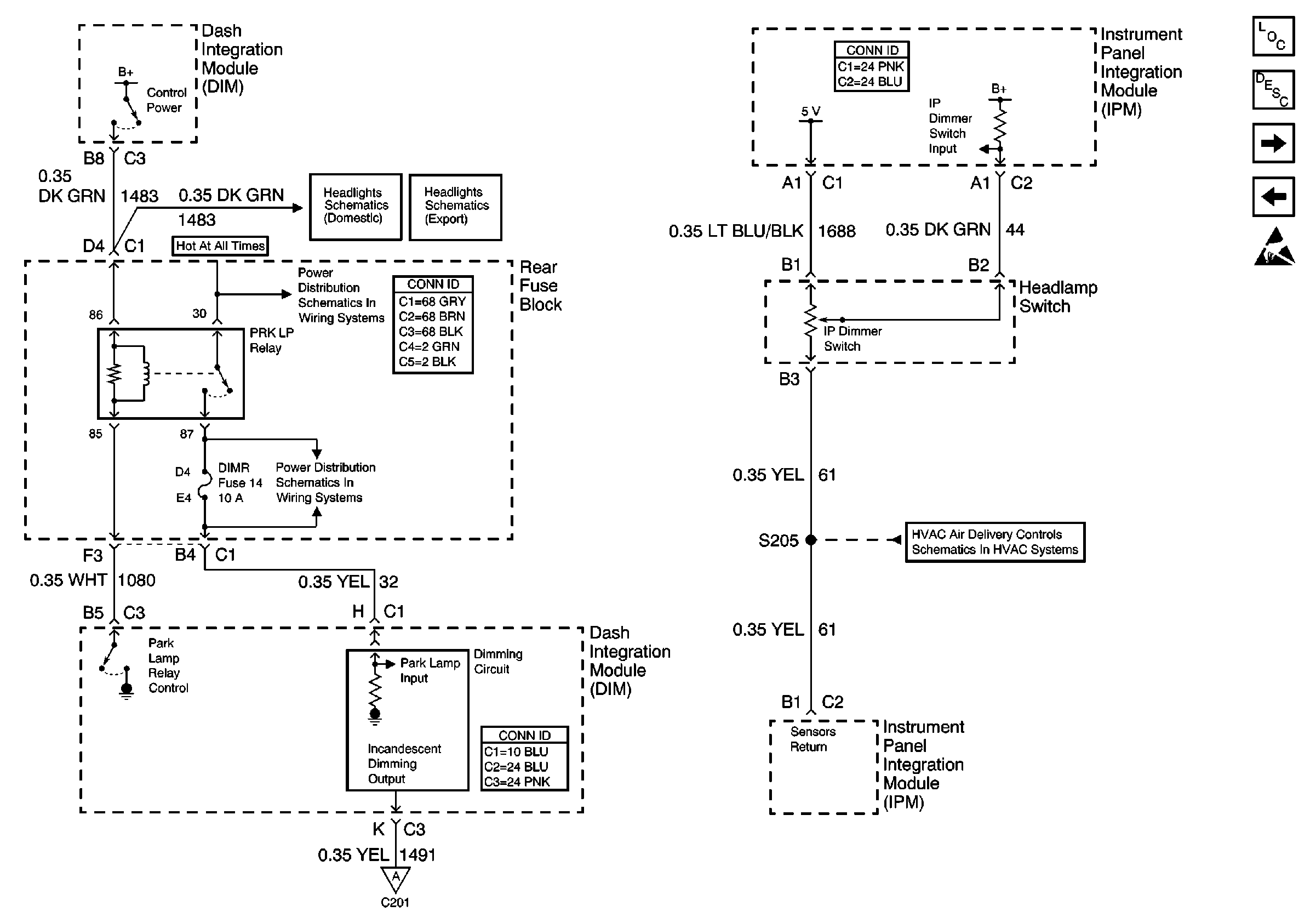
🢒 Dimming Control
Dimming Control
Dimming Control
Lighting Systems Components
Interior Lights Dimming Circuit Description
Instrument Panel Dimming
Class 2 Dimming Communication
Handling ESD Sensitive Parts Notice
Sensors
Low Beam Headlamps
Low Beam Headlamps
Rear Fuse Block Battery Voltage
RH PRK LP and LH PRK LP Fuses
Instrument Panel Dimming