GM Service Manual Online
For 1990-2009 cars only
Makes
🢒
Chevrolet
🢒
2000
🢒
Chevy C Pickup - 2WD
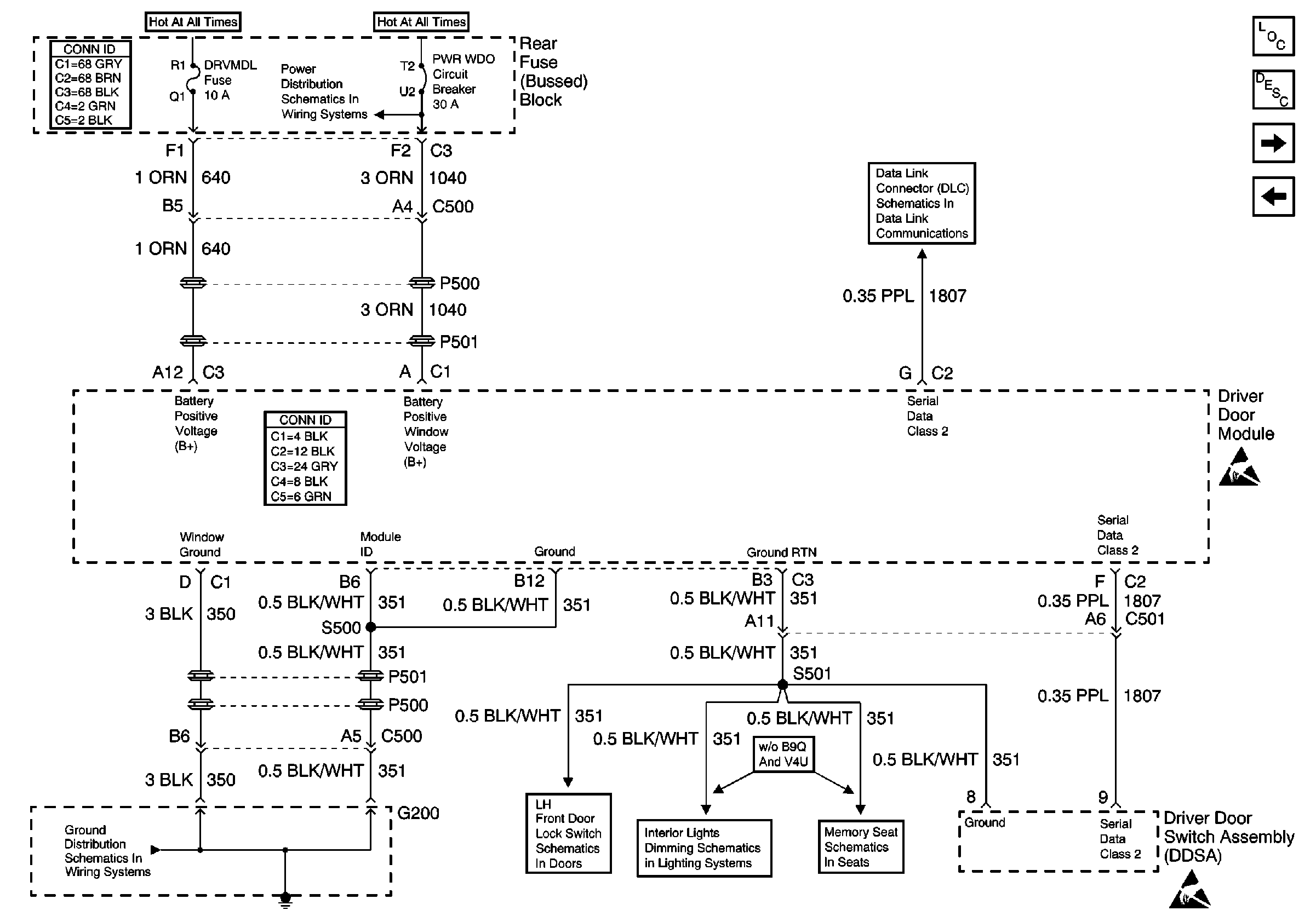
🢒 Driver Door Module (DDM) Power, Gd., Inputs and Outputs
Driver Door Module (DDM) Power, Gd., Inputs and Outputs
Driver Door Module (DDM) Power, Gd., Inputs and Outputs
Power Door Systems Components
Door Description
Passenger Front Door Module (PFDM) Power, Gd., Inputs and Outputs
Driver Door Module (DDM) Power, Gd., Inputs and Outputs
Handling ESD Sensitive Parts Notice
Handling ESD Sensitive Parts Notice
PWR WDO Circuit Breaker
Serial Data Class 2 (3 of 3)
G200
Driver Door Power Door Lock
Front Door Dimming
Memory Function Switch