GM Service Manual Online
For 1990-2009 cars only
Makes
🢒
Chevrolet
🢒
2000
🢒
Chevy C Pickup - 2WD
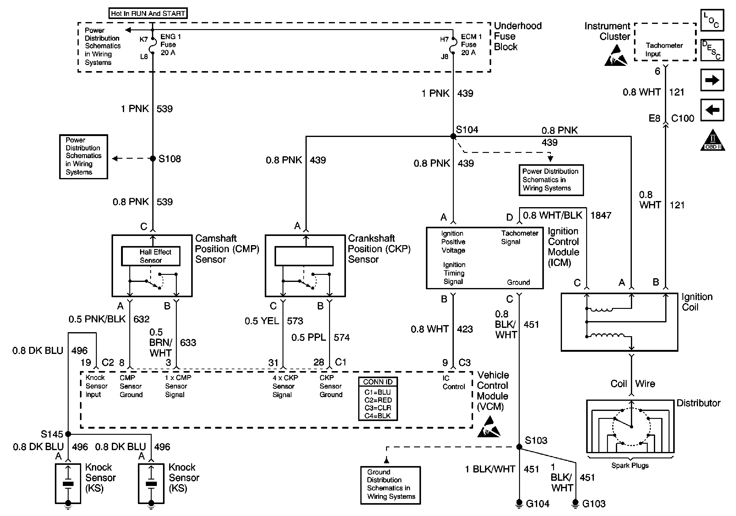
🢒 Ignition System
Ignition System
Ignition System
IGN A Fuse and Ignition Switch
Cell 10: ENG-1 Fuse
ECM 1 Fuse (7.4L)
G103 and G104
Handling ESD Sensitive Parts Notice
Fuel Pump Control-Single Tank
VCM and DLC Power and Grounding, MIL Circuit
OBD II Symbol Description Notice
Engine Controls Components
Enhanced Ignition System Description