GM Service Manual Online
For 1990-2009 cars only
Makes
🢒
Chevrolet
🢒
2000
🢒
Chevy C Pickup - 2WD
🢒 Diesel Engine
Diesel Engine
Diesel Engine
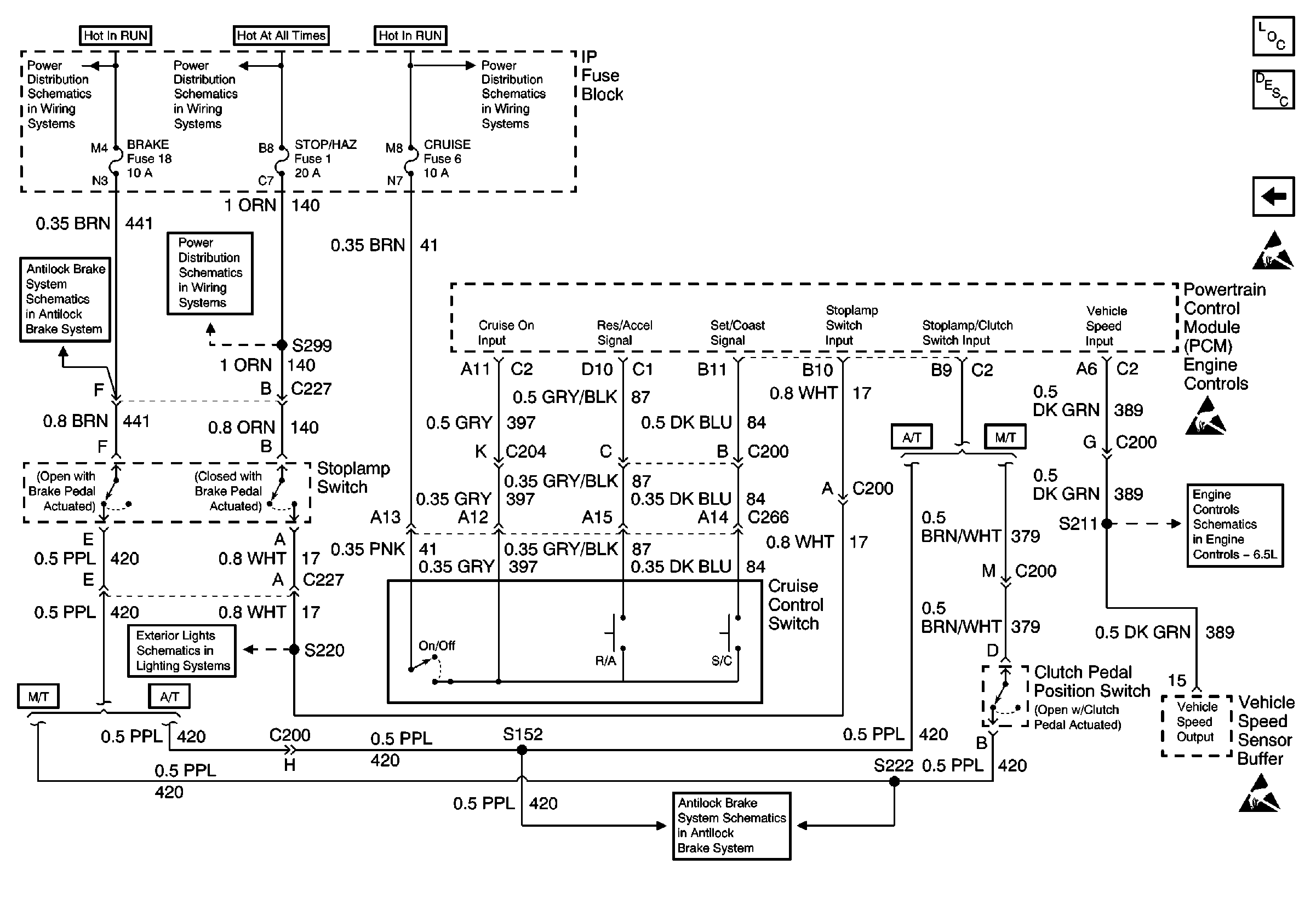
Cruise Control Components
Cruise Control System Circuit Description
VCM and Clutch Pedal Position Switch (Gas Engine)
Handling ESD Sensitive Parts Notice
Handling ESD Sensitive Parts Notice
VSS Circuits
Handling ESD Sensitive Parts Notice
VSS, TCC Signal and Brake Indicator (Gas)
STOP/HAZ Fuse 1, Turn/Hazard Switch, Turn/Hazard Flasher
VSS, TCC Signal and Brake Indicator (Gas)
STOP/HAZ, RADIO BATT, and AUX PWR Fuses
CRUISE and 4WD Fuses
STOP/HAZ, RADIO BATT, and AUX PWR Fuses