GM Service Manual Online
For 1990-2009 cars only
Makes
🢒
Chevrolet
🢒
2000
🢒
Chevy C Pickup - 2WD
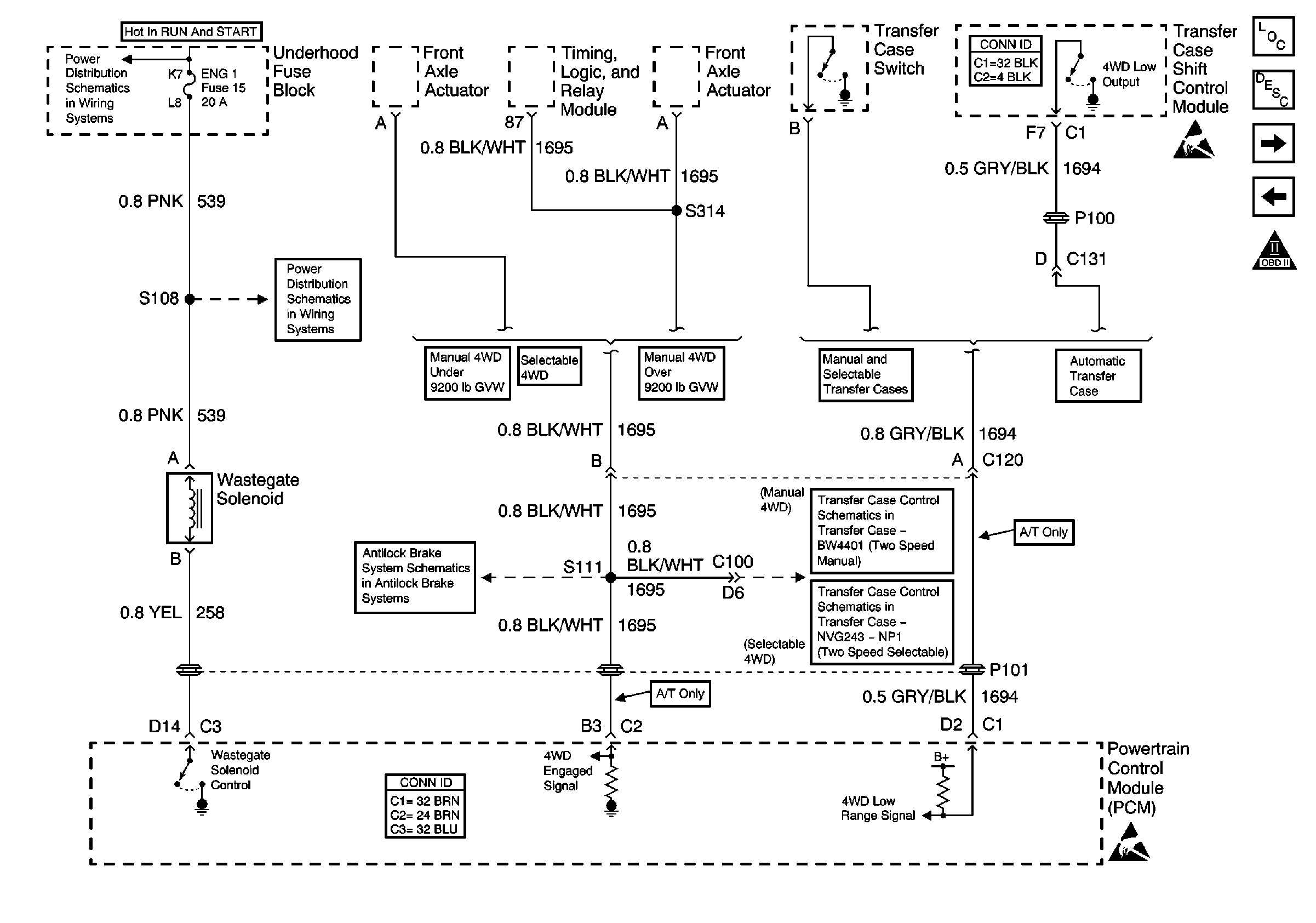
🢒 Wastegate Solenoid and 4WD Circuits
Wastegate Solenoid and 4WD Circuits
Wastegate Solenoid and 4WD Circuits
Engine Controls Components
Information Sensors/Switches Description
Accelerator Pedal Position Sensor, Cruise Switch Input, Stoplamp and Clutch Pedal Switches
VSS Circuits
OBD II Symbol Description Notice
IGN A Fuse and Ignition Switch
ENG 1 and ECM 1 Fuses (Diesel)
Indicator Control and Wheel Speed Sensors
BW Transfer Case Circuit - Manual Transmission
Front Axle Actuator Circuits
Handling ESD Sensitive Parts Notice
Handling ESD Sensitive Parts Notice