GM Service Manual Online
For 1990-2009 cars only

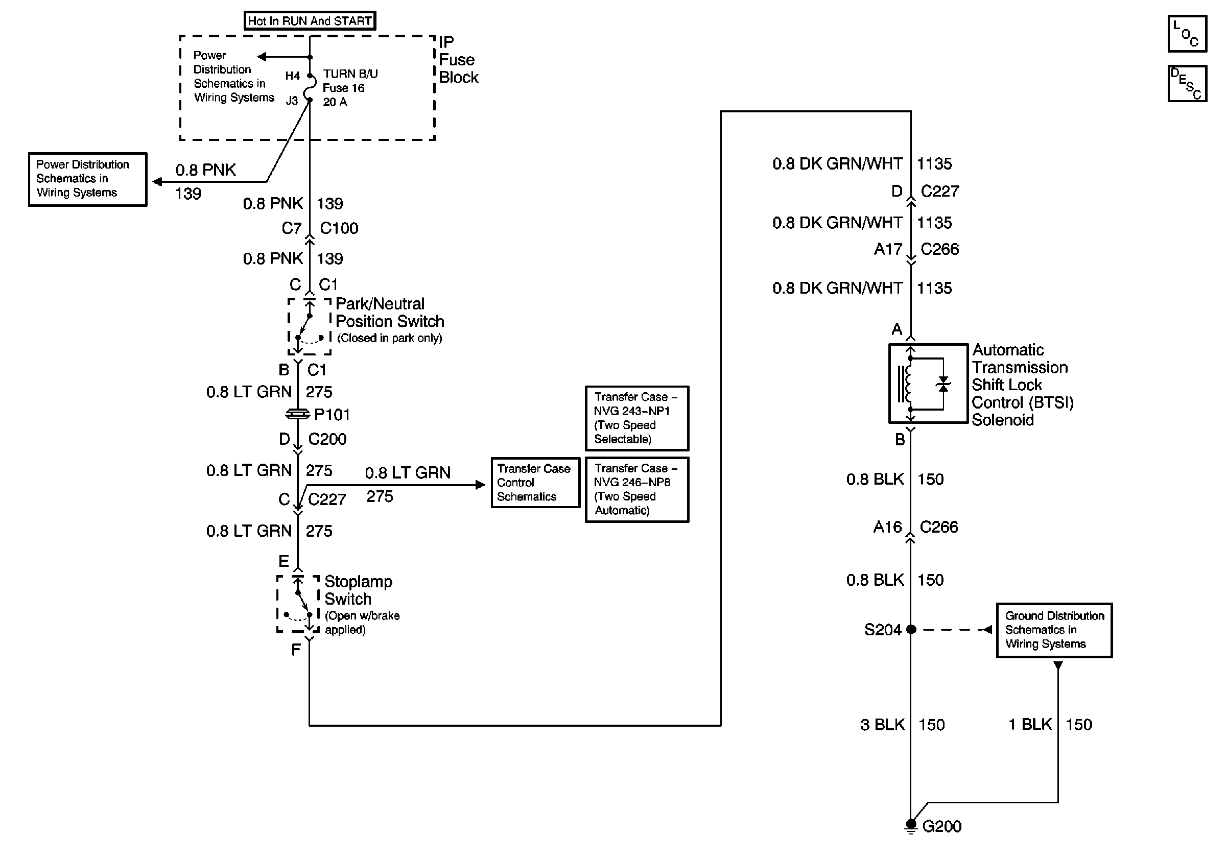
Automatic Transmission Shift Lock Control Circuit

Automatic Transmission Shift Lock Control Circuit


Object Number: 583353  Size: FS
Shift Lock Control Component Views
Automatic Transmission Shift Lock Control Circuit Description
IGN A Fuse and Ignition Switch
IGN A Fuse and Ignition Switch
AIR BAG, TURN B/U, CRANK, and TRANS Fuses
Control Module and Shift Motor/Encoder - Gasoline Engines
Shift Motor/Encoder Circuits, PNP, and PCM/VCM Interfaces
G200 (1 of 4)