GM Service Manual Online
For 1990-2009 cars only
Makes
🢒
Chevrolet
🢒
2000
🢒
Chevy C Pickup - 2WD
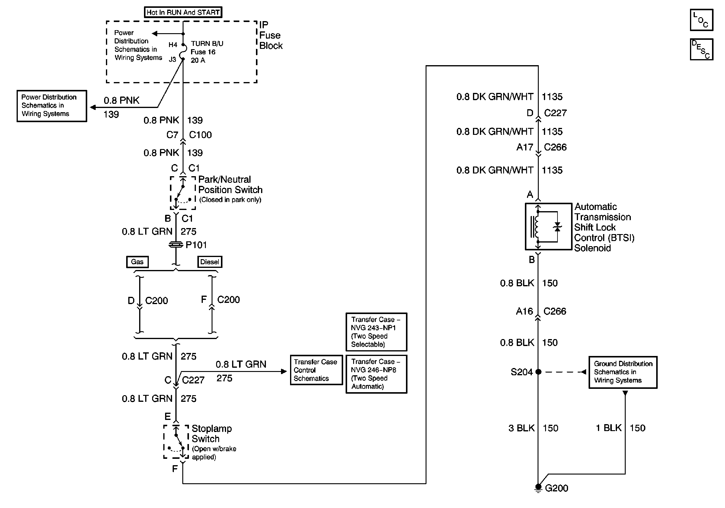
🢒 Automatic Transmission Shift Lock Control Circuit
Automatic Transmission Shift Lock Control Circuit
Automatic Transmission Shift Lock Control Circuit
Shift Lock Control Component Views
Automatic Transmission Shift Lock Control Circuit Description
IGN A Fuse and Ignition Switch
IGN A Fuse and Ignition Switch
AIR BAG, TURN B/U, CRANK, and TRANS Fuses
Control Module and Shift Motor/Encoder - Gasoline Engines
Shift Motor/Encoder Circuits, PNP, and PCM/VCM Interfaces
G200 (1 of 4)