GM Service Manual Online
For 1990-2009 cars only
Makes
🢒
Chevrolet
🢒
2000
🢒
Chevy C Pickup - 2WD
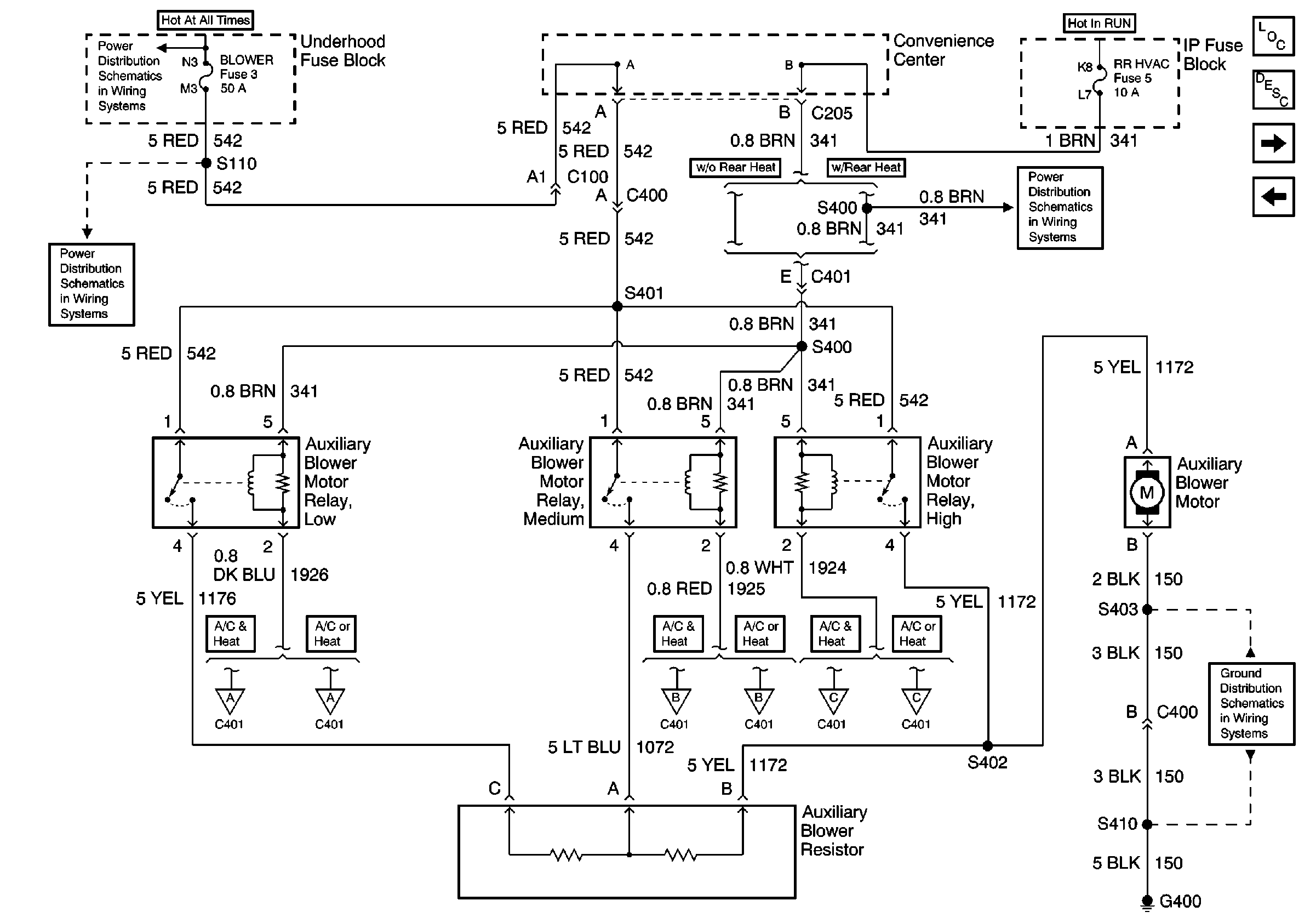
🢒 Rear Blower Controls Relays and Motors
Rear Blower Controls Relays and Motors
Rear Blower Controls Relays and Motors
Heater Blower Controls Components
HVAC Air Delivery/Temperature Control Circuit Description
Rear Blower Controls Switches
Front HVAC Blower W/ A/C
ABS, BLOWER, STOP Fuses and Brake Lamp Relay
ABS, BLOWER, STOP Fuses and Brake Lamp Relay
Rear Blower Controls Switches
Auxiliary HVAC Controls (Auxiliary Heat or A/C)
RR HVAC Fuse
G400
Rear Blower Controls Switches
Auxiliary HVAC Controls (Auxiliary Heat or A/C)
Rear Blower Controls Switches
Auxiliary HVAC Controls (Auxiliary Heat or A/C)