GM Service Manual Online
For 1990-2009 cars only

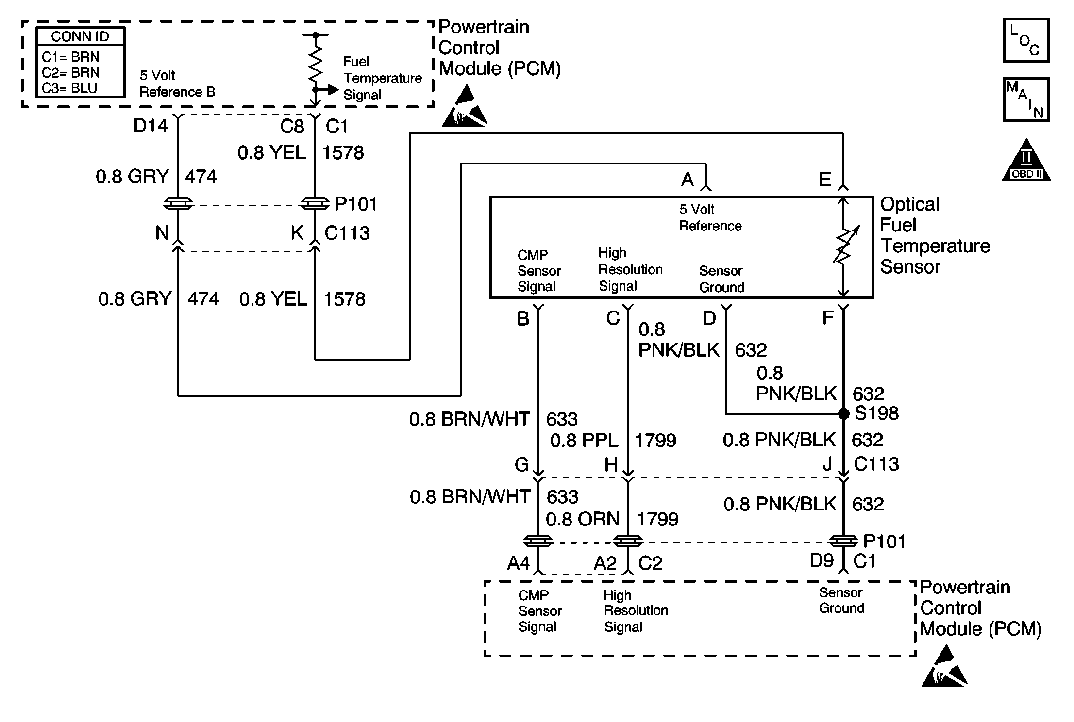
Object Number: 592183  Size: MF
Engine Controls Components
Water-in fuel Sensor, Fuel Heater, and Fuel Temperature Sensor
Handling ESD Sensitive Parts Notice
OBD II Symbol Description Notice
Handling ESD Sensitive Parts Notice

Circuit Description

The optical sensor provides a high resolution signal to the PCM by counting pulses on the sensor disk located in the injection pump. The high resolution is one of the most important inputs by the PCM for fuel control and timing. This test monitors the number of high resolution pulses which have been missed (not detected). It's based on a comparison between the number of pulses that were detected since the last pump cam pulse and the number of the pulses that should have occurred. There are approximately 64 high resolution pulses for every cam pulse.

Conditions for Running the DTC

The engine is operating.

Conditions for Setting the DTC

A number of high resolution pulses missing (internal to PCM (64 to 1 ratio) per every 8 cam reference pulses.

Action Taken When the DTC Sets

    • The PCM illuminates the malfunction indicator lamp (MIL) on the first consecutive drive trip that the diagnostic runs and fails.
    • The Freeze Frame records the operating conditions at the time of failure and updates the Failure Records.
    • The PCM will activate back up fuel.

Conditions for Clearing the MIL/DTC

    • The PCM will turn the MIL off after three consecutive trips without a fault condition.
    • A History DTC clears after forty consecutive warm-up cycles, if this or any other emission related diagnostic does not report any failures.
    • The use of a scan tool.

Diagnostic Aids

Intermittent DTCs (P0251, P0370 and P1216) may be caused by air entering the fuel system when fuel levels get below 1/8 of a tank while performing hard acceleration or turning maneuvers. It's also possible that a P0251, P0370 and P1216 will set if the vehicle has run out of fuel. Customer driving habits should be checked to determine if the vehicle has been performing in these manners. If the vehicle has been performing in these conditions, bleed the fuel system of all air and test drive the vehicle.

When PCM is in backup fuel, fast idle and poor performance problems will exist. If P0251 is also stored, the snap shot mode on the scan tool should be used to properly identify the fault. DTCs P0335, P1216, and P1217 may set along with this DTC.

The least likely cause of failure is the PCM.

Test Description

The numbers below refer to the step numbers on the diagnostic table.

  1. This step will determine if the 5 volt reference is present.

  2. This step checks the ground circuit.

  3. This step determines if the problem is currently active by the scan tool displaying Last Test Failed. Do not proceed any further with this table if the scan tool does not display the term Last Test Failed. Duplicating the conditions in Freeze Frame and Failure Records can help create an active fault.

  4. This step determines if a High Res signal is being sent to the PCM. Refer to the RPM vs Hertz table to compare the Hertz readings at different RPMs. Using Freeze Frame and Failure Records will help identify the RPM the problem occurs.

  5. The PCM supplies 5 volts on the signal circuit. This step determines if that voltage is present, not present, or too much voltage is present.

  6. This step determines if the signal circuit is shorted to 5V. A normal high res signal circuit will have 3-5 mA. Any reading over 50mA indicates a short to 5V.

Step

Action

Values

Yes

No

1

Important: Before clearing any DTCs, use the scan tool Capture Info to save freeze frame and failure records for reference, as the scan tool loses data when using the Clear Info function.

Was the Powertrain On-Board Diagnostic (OBD) System Check performed?

--

Go to Step 2

Go to Powertrain On Board Diagnostic (OBD) System Check

2

  1. Turn the ignition OFF.
  2. Disconnect the Optical/Fuel temperature sensor electrical connector.
  3. Turn the ignition ON with the engine OFF.
  4. Using a DMM , measure the voltage between the Optical sensor 5 volt reference circuit at the harness connector and chassis ground.

Is the voltage at specified value?

4.8-5.2V

Go to Step 3

Go to Step 6

3

  1. Verify the Optical/Fuel temperature sensor electrical connector is still disconnected.
  2. Probe the sensor ground circuit with a test lamp connected to B+ at the harness connector.

Is the test lamp ON?

--

Go to Step 4

Go to Step 7

4

  1. Reconnect the Optical/Fuel Temperature sensor electrical connector.
  2. Start and operate the engine as close to the conditions saved in the Freeze Frame/Failure Records.
  3. Using the scan tool, select DTC, specific and then enter the DTC number.

Does the scan tool display the term Last Test Failed?

--

Go to Step 5

Go to Diagnostic Aids

5

    Important: The scan tool must display Last Test Failed (under DTC, Specific). This ensures the fault is active while performing this test.

  1. Maintain the engine speed at the point of failure (per conditions saved in the Freeze Frame/Failure Records).
  2. With the DMM on the Hertz (Hz) scale, backprobe the high resolution signal circuit at the PCM.

Does the Hertz reading in Engine Speed Versus Hertz (Hz) correspond (±100 Hz) with the Hertz reading on the DMM at the designated RPM?

--

Go to Step 16

Go to Step 9

6

  1. Turn the ignition OFF.
  2. Disconnect the PCM, and check the Optical sensor 5 volt reference circuit for an open, short to ground, or short to the sensor ground circuit.
  3. If the Optical sensor 5 volt reference circuit is open or shorted to ground, repair the circuit as necessary.

Was the Optical sensor 5 volt reference circuit open or shorted to ground?

--

Go to Step 19

Go to Step 8

7

  1. Check for an open or a proper sensor ground terminal connection at the PCM.
  2. If a problem is found, repair as necessary.

Was a repair performed?

--

Go to Step 19

Go to Step 18

8

Check the Optical sensor 5 volt reference circuit for a proper connection at the PCM and replace the terminal if necessary.

Did the terminal require replacement?

--

Go to Step 19

Go to Step 18

9

  1. Disconnect the Optical/Fuel temperature sensor electrical connector.
  2. Turn the ignition ON with the engine OFF.
  3. With a DMM connected to ground, probe the high resolution signal circuit at the harness connector.

Is the voltage within the specified value?

4.8-5.2V

Go to Step 13

Go to Step 10

10

Is the voltage more than the specified value?

4.8-5.2V

Go to Step 11

Go to Step 12

11

Repair the short to battery/ignition voltage on the high resolution signal circuit.

Is the action complete?

--

Go to Step 17

--

12

  1. Turn the ignition OFF.
  2. Disconnect the PCM, and check the high resolution signal circuit for an open, short to ground, or short to the sensor ground circuit.
  3. If a problem is found, repair the problem as necessary.

Was a repair made?

--

Go to Step 19

Go to Step 16

13

With a DMM set to the mA scale, measure the current between the High Res signal circuit and the ground circuit at the Optical/Fuel temperature sensor electrical connector.

Is the current less than the specified value?

25 mA

Go to Step 15

Go to Step 14

14

Repair the short to reference voltage on the high resolution signal circuit.

Is the action complete?

--

Go to Step 19

--

15

  1. Check the high resolution signal circuit for a proper connection at the injection pump.
  2. If a problem is found, repair the problem as necessary.

Was a problem found?

--

Go to Step 19

Go to Step 17

16

  1. Turn the ignition OFF.
  2. Disconnect the PCM, and check the high resolution signal circuit for a proper connection at the PCM.
  3. If a problem is found, repair the problem as necessary.

Was a problem found?

--

Go to Step 19

Go to Step 18

17

Important: The new injection pump must be timed. Refer to Fuel Injection Pump Timing Adjustment .

Replace the injection pump. Refer to Fuel Injection Pump Replacement .

Is the action complete?

--

Go to Step 19

--

18

Important: The new PCM must be programmed.

Replace the PCM. Refer to Powertrain Control Module Replacement/Programming .

Is the action complete?

--

Go to Step 19

--

19

  1. Using the scan tool, clear the DTCs.
  2. Start the engine and idle at normal operating temperature.
  3. Select DTC, Specific, then enter the DTC number which was set.
  4. Operate the vehicle, within the Conditions for Setting this DTC, until the scan tool indicates the diagnostic Ran.

Does the scan tool indicate the diagnostic Passed?

--

Go to Step 20

Go to Step 2

20

Does the scan tool display any additional undiagnosed DTCs?

--

Go to applicable DTC

System OK