GM Service Manual Online
For 1990-2009 cars only
Makes
🢒
Chevrolet
🢒
1997
🢒
Chevy C Pickup - 2WD (CNG)
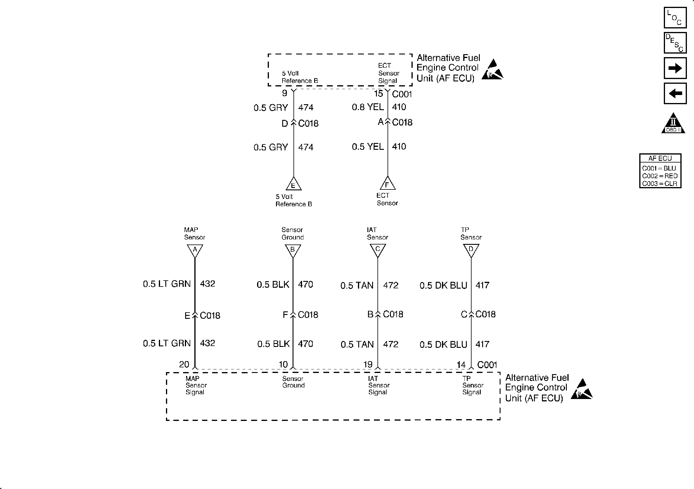
🢒 Engine Sensors
Engine Sensors
Engine Sensors
Engine Controls Components
Alternative Fuel Engine Control Unit
Handling Electrostatic Discharge Sensitive Parts Notice
Handling Electrostatic Discharge Sensitive Parts Notice
Engine Sensors
Engine Sensors
OBDII Symbol Description Notice