GM Service Manual Online
For 1990-2009 cars only
Makes
🢒
Chevrolet
🢒
2000
🢒
Chevy C Silverado - 2WD
🢒
HVAC
🢒
HVAC Systems - Automatic
🢒 HVAC Air Delivery/Temperature Control Schematics
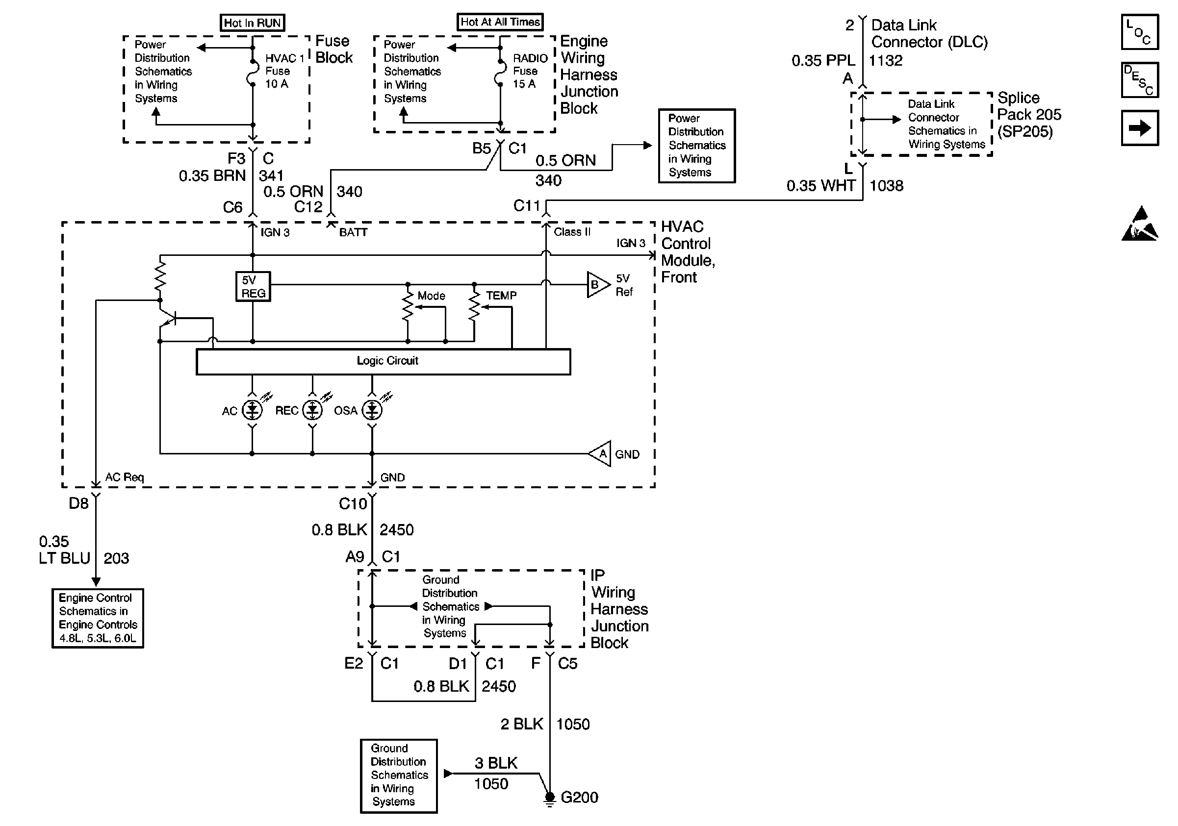
Figure
1:
HVAC Control Module, DLC, G200
HVAC Components
HVAC Air Delivery/Temperature Control Circuit Description
Mode Door Motors, HVAC Control Module
Handling ESD Sensitive Parts Notice
Power Distribution Schematics
Power Distribution Schematics
Power Distribution Schematics
Ground Distribution Schematics
Ground Distribution Schematics
Data Link Connector Schematics
Engine Controls Schematics
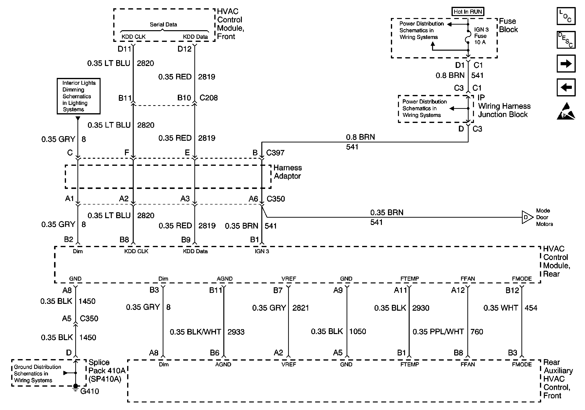
Figure
2:
Mode Door Motors, HVAC Control Module
HVAC Components
HVAC Air Delivery/Temperature Control Circuit Description
HVAC Control Module Rear, Rear Auxiliary HVAC, Control Front -
HVAC Control Module, DLC, G200
Handling ESD Sensitive Parts Notice
Power Distribution Schematics
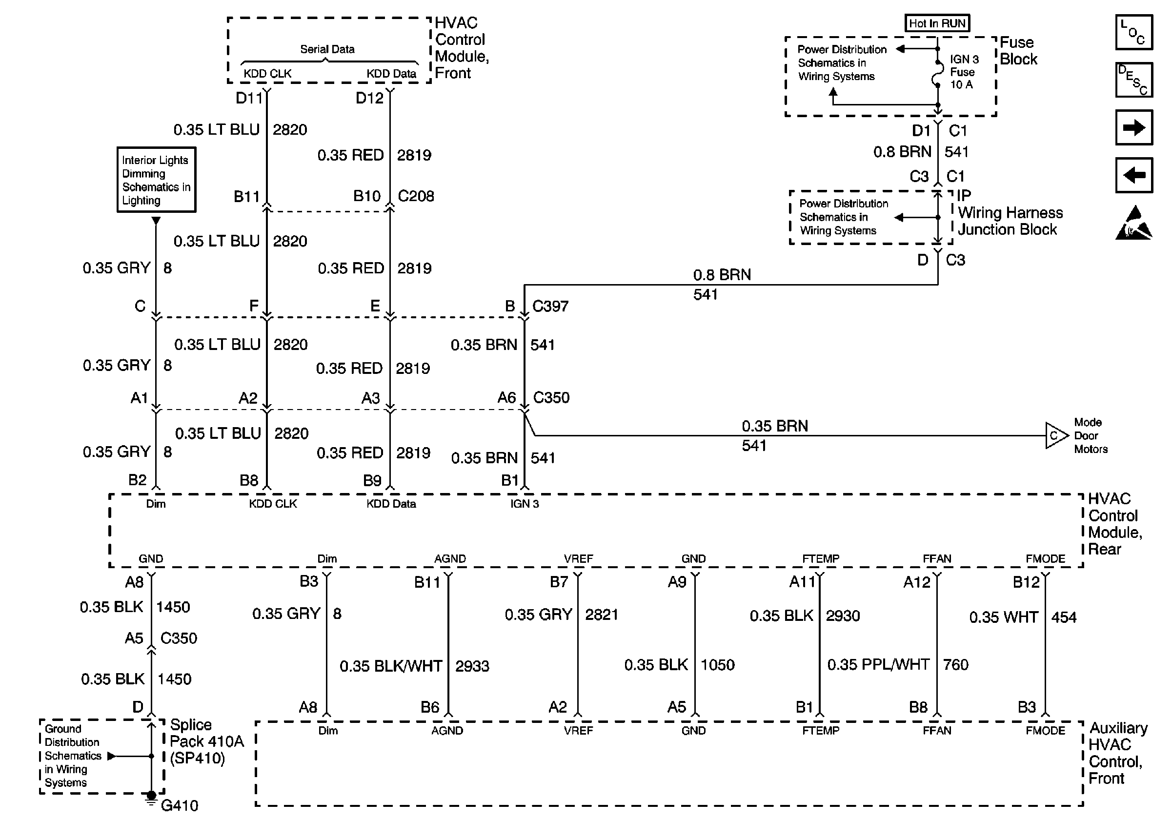
Figure
3:
HVAC Control Module Rear, Rear Auxiliary HVAC, Control Front --
HVAC Components
HVAC Air Delivery/Temperature Control Circuit Description
HVAC Control Module Rear, Rear Auxiliary HVAC, Control Front - Suburban/Yukon XL
Mode Door Motors, HVAC Control Module
Handling ESD Sensitive Parts Notice
Power Distribution Schematics
Power Distribution Schematics
Power Distribution Schematics
Ground Distribution Schematics
Ground Distribution Schematics
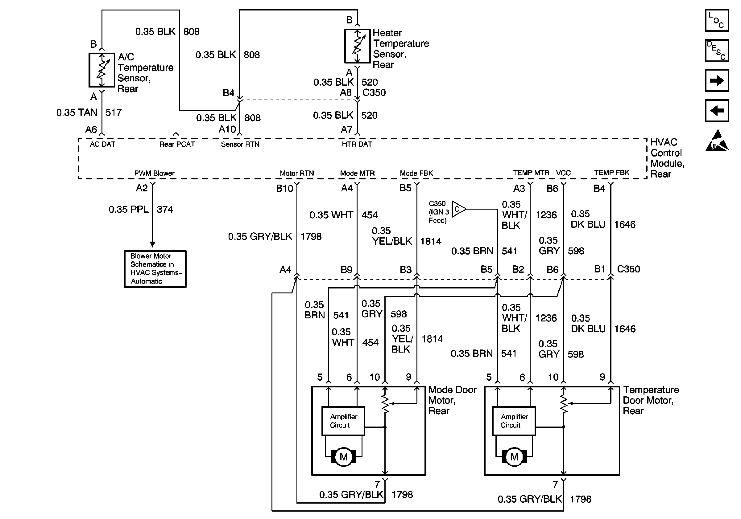
Figure
4:
HVAC Control Module Rear, Rear Auxiliary HVAC, Control Front -- Suburban/Yukon XL
HVAC Components
HVAC Air Delivery/Temperature Control Circuit Description
Mode Door Motors Rear, A/C and Heater Temp Sensors - Suburban/Yukon XL
HVAC Control Module Rear, Rear Auxiliary HVAC, Control Front -
Handling ESD Sensitive Parts Notice
Power Distribution Schematics
Power Distribution Schematics
Ground Distribution Schematics
Interior Lights Dimming Schematics Pickup
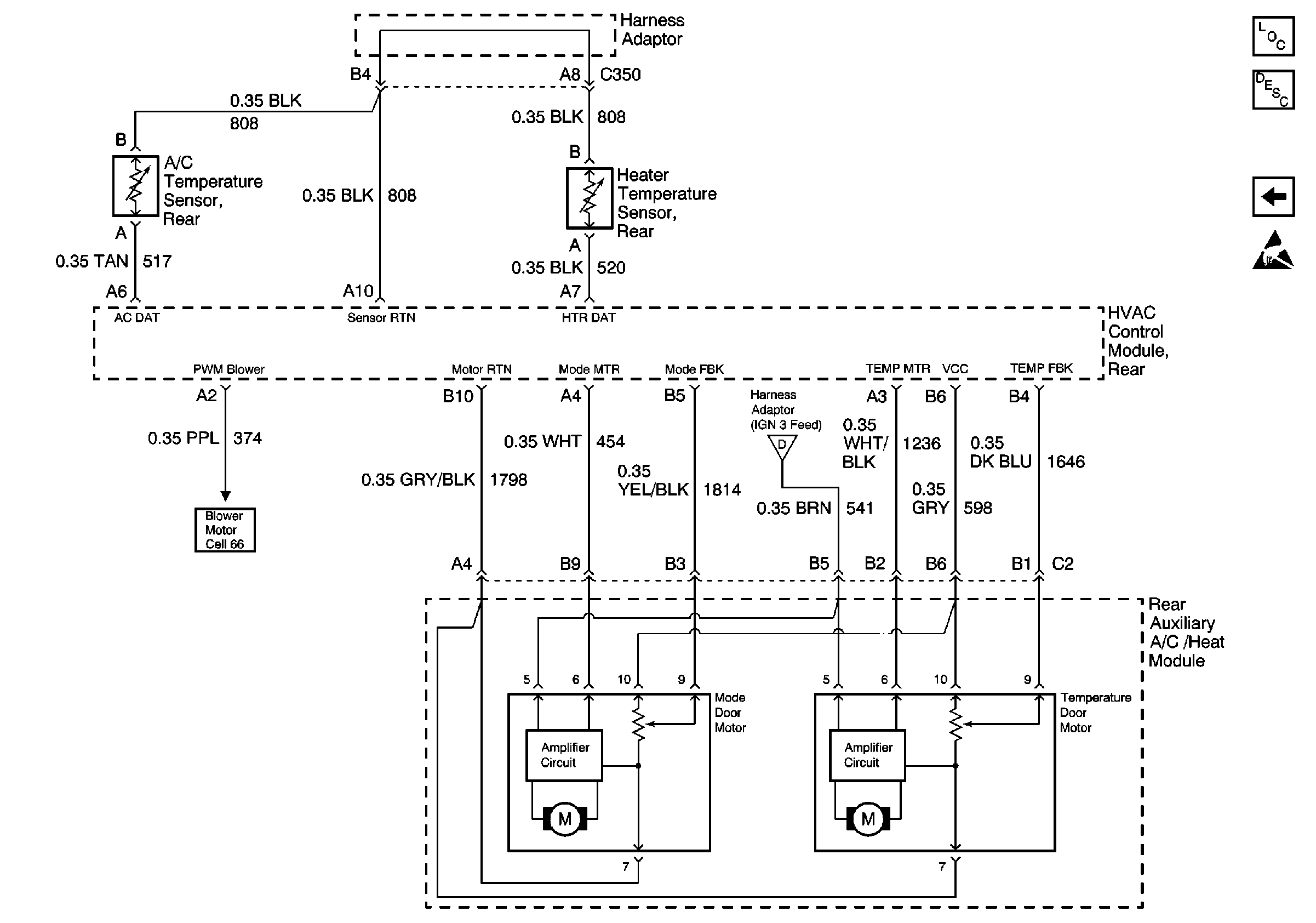
Figure
5:
Mode Door Motors Rear, A/C and Heater Temp Sensors -- Suburban/Yukon XL
HVAC Components
HVAC Air Delivery/Temperature Control Circuit Description
HVAC Contro Module Rear, Rear Auxiliary, HVAC Control Front, G410 - Suburban/Yukon XL
HVAC Control Module Rear, Rear Auxiliary HVAC, Control Front - Suburban/Yukon XL
Handling ESD Sensitive Parts Notice
Figure
6:
HVAC Contro Module Rear, Rear Auxiliary, HVAC Control Front, G410 -- Suburban/Yukon XL
HVAC Components
HVAC Air Delivery/Temperature Control Circuit Description
Mode Door Motors, A/C and Heater Temp Sensors - Tahoe/Yukon
Mode Door Motors Rear, A/C and Heater Temp Sensors - Suburban/Yukon XL
Handling ESD Sensitive Parts Notice
Power Distribution Schematics
Power Distribution Schematics
Ground Distribution Schematics
Interior Lights Dimming Schematics Pickup
Figure
7:
Mode Door Motors, A/C and Heater Temp Sensors -- Tahoe/Yukon
HVAC Components
HVAC Air Delivery/Temperature Control Circuit Description
HVAC Contro Module Rear, Rear Auxiliary, HVAC Control Front, G410 - Suburban/Yukon XL
Handling ESD Sensitive Parts Notice