GM Service Manual Online
For 1990-2009 cars only
Makes
🢒
Chevrolet
🢒
2000
🢒
Chevy C Silverado - 2WD
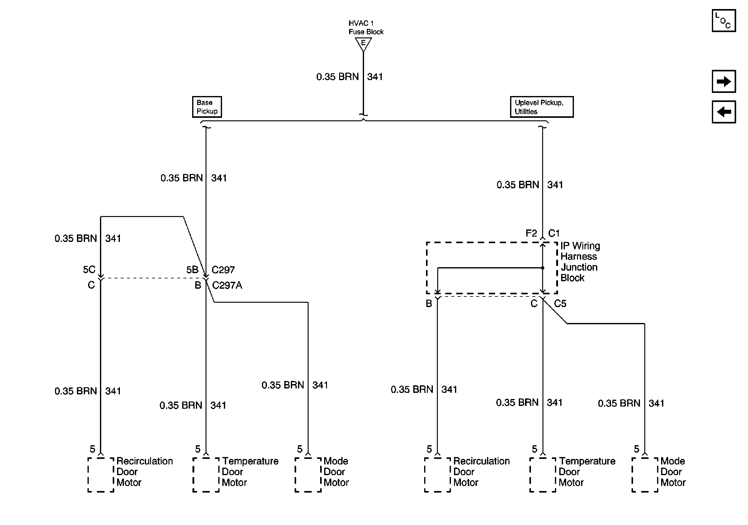
🢒 Front HVAC Mode Door Motors
Front HVAC Mode Door Motors
Front HVAC Mode Door Motors
Power and Grounding Components
Rear HVAC Mode Door Motors
ABS, Suspension Control Module, HVAC
ABS, Suspension Control Module, HVAC