GM Service Manual Online
For 1990-2009 cars only
Makes
🢒
Chevrolet
🢒
2000
🢒
Chevy C Silverado - 2WD
🢒 S303,VSE Switch, Suspension Switch
S303,VSE Switch, Suspension Switch
S303,VSE Switch, Suspension Switch
Power and Grounding Components
Mode Door Motors, DLC, Tow/Haul Switch
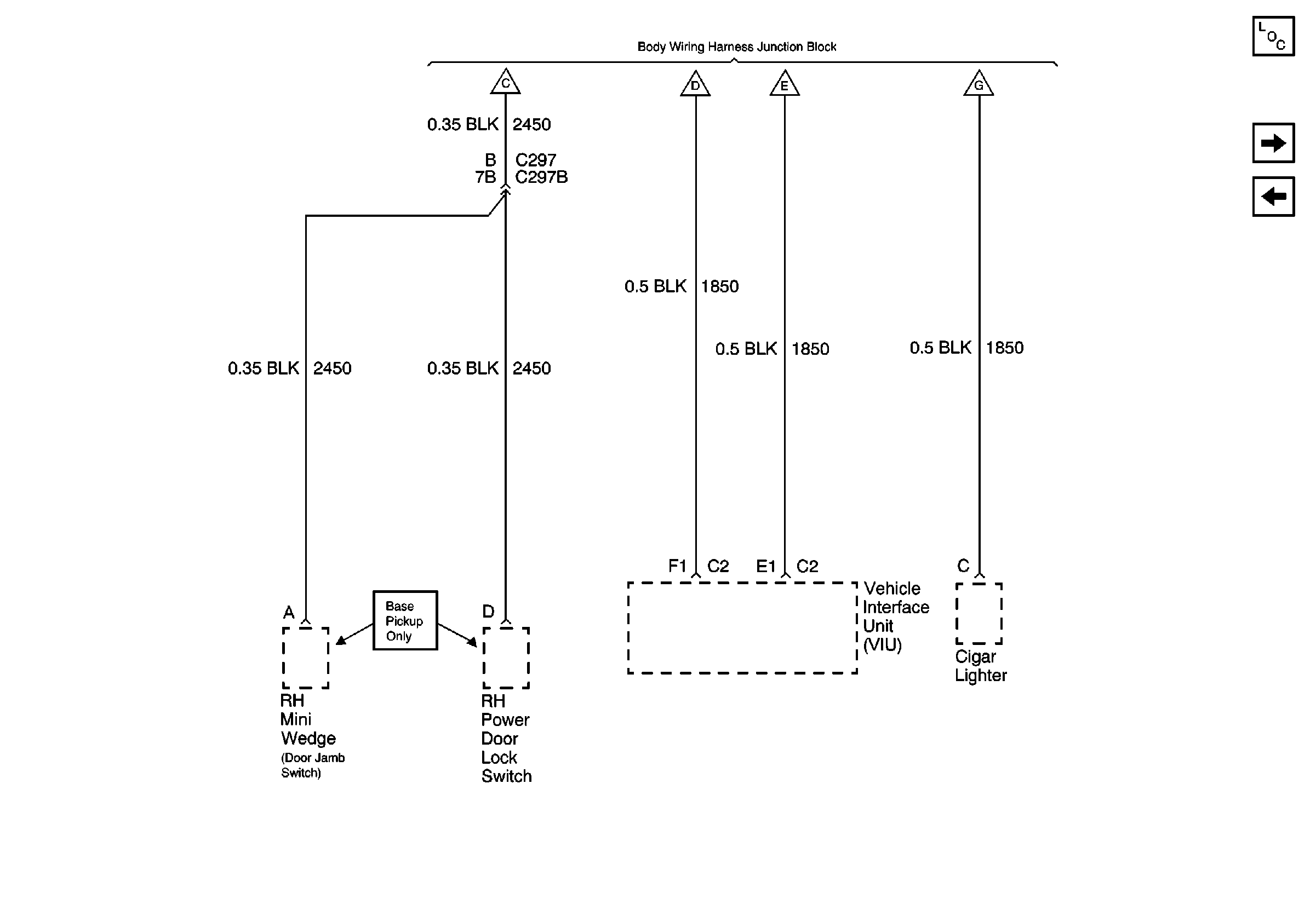
SP203, BCM, Fuse Block
SP203, BCM, Fuse Block
SP203, BCM, Fuse Block
SP203, BCM, Fuse Block
SP203, BCM, Fuse Block