GM Service Manual Online
For 1990-2009 cars only
Makes
🢒
Chevrolet
🢒
2002
🢒
Chevy C Silverado - 2WD
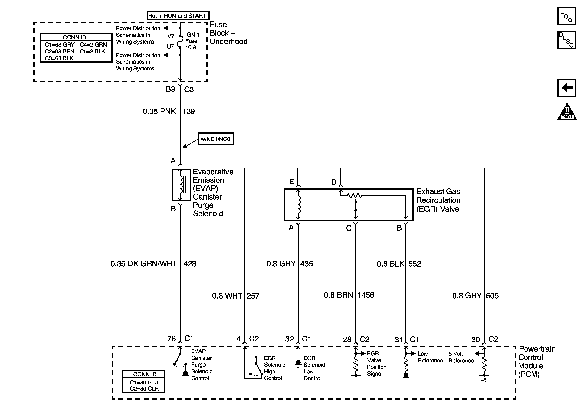
🢒 Secondary Air Bypass Valve, EGR Valve
Secondary Air Bypass Valve, EGR Valve
Secondary Air Bypass Valve, EGR Valve
Master Electrical Component List
Evaporative Emission Control System Description
Air Pump Motor and Vacuum Valve Solenoid, NC8 Only
OBD II Symbol Description Notice
IGN-1 Relay, Transmission, DIS, OXY SEN, and IGN 1-Fuses
IGN-1 Relay, Transmission, DIS, OXY SEN, and IGN 1-Fuses