GM Service Manual Online
For 1990-2009 cars only
Makes
🢒
Chevrolet
🢒
2002
🢒
Chevy C Silverado - 2WD
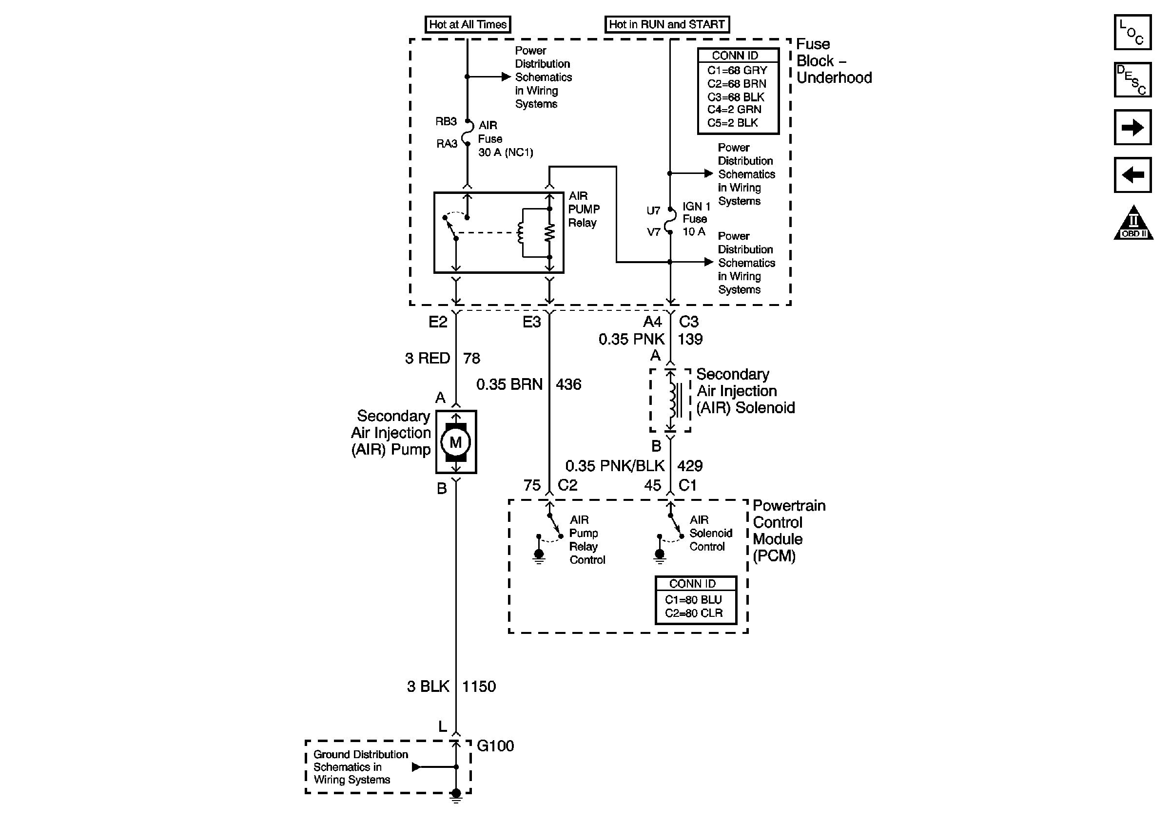
🢒 Air Pump Motor and Vacuum Valve Solenoid, NC8 Only
Air Pump Motor and Vacuum Valve Solenoid, NC8 Only
Air Pump Motor and Vacuum Valve Solenoid, NC8 Only
Master Electrical Component List
Secondary Air Injection System Description
Secondary Air Bypass Valve, EGR Valve
A/C Clutch and Relay
OBD II Symbol Description Notice
IGN-1 Relay, Transmission, DIS, OXY SEN, and IGN 1-Fuses
G100 and G102
AIR PUMP and ACCY Relays, AIR, C/LTR, AUX PWR, WSW, and ACCY Fuses
IGN-1 Relay, Transmission, DIS, OXY SEN, and IGN 1-Fuses