GM Service Manual Online
For 1990-2009 cars only
Makes
🢒
Chevrolet
🢒
2002
🢒
Chevy C Silverado - 2WD
🢒 Rear Window Defogger
Rear Window Defogger
Rear Window Defogger
Master Electrical Component List
Rear Window Defogger Description and Operation
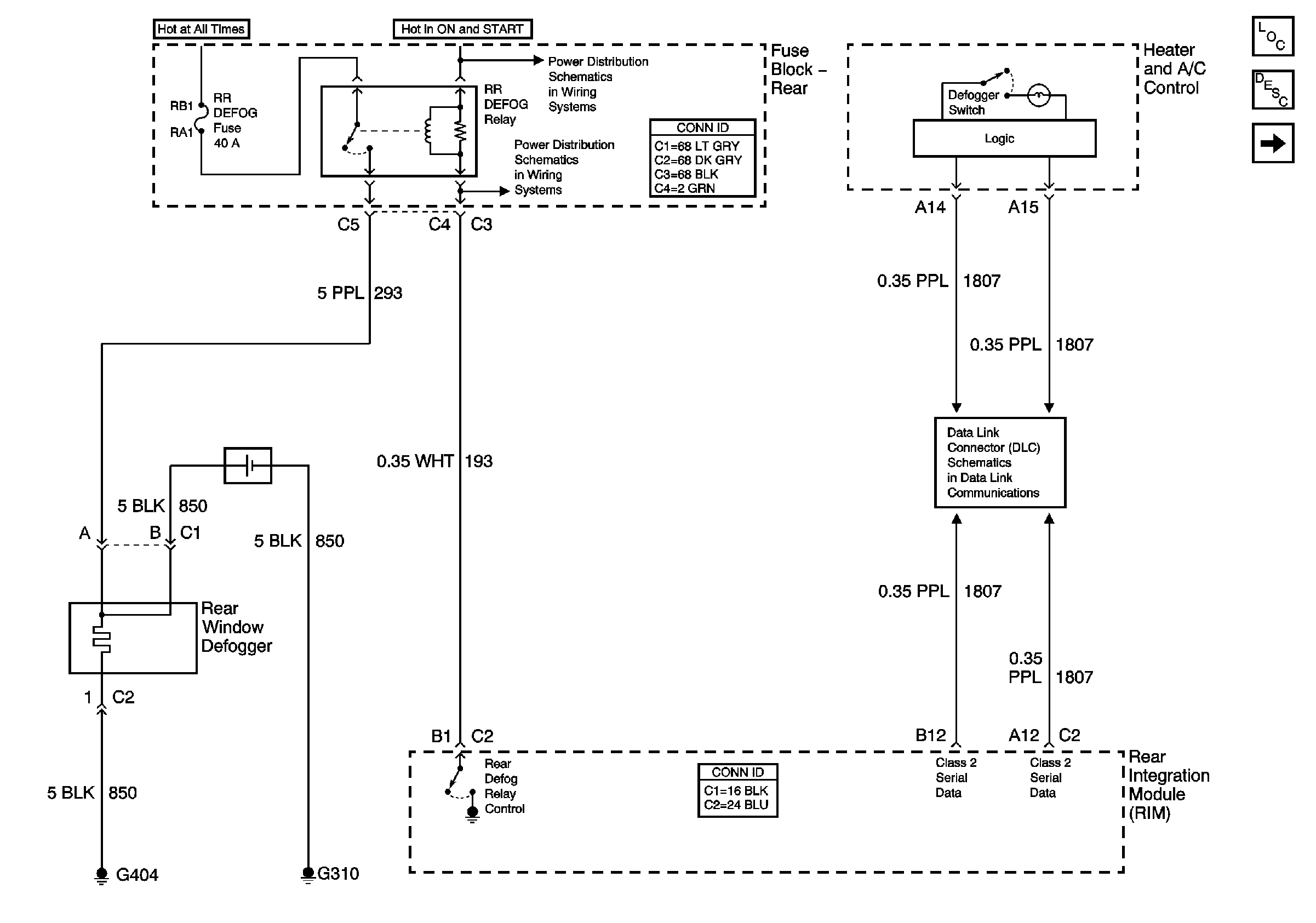
Defogger Schematics (w/CJ2)
Serial Data Class 2