GM Service Manual Online
For 1990-2009 cars only
Makes
🢒
Chevrolet
🢒
2002
🢒
Chevy C Silverado - 2WD
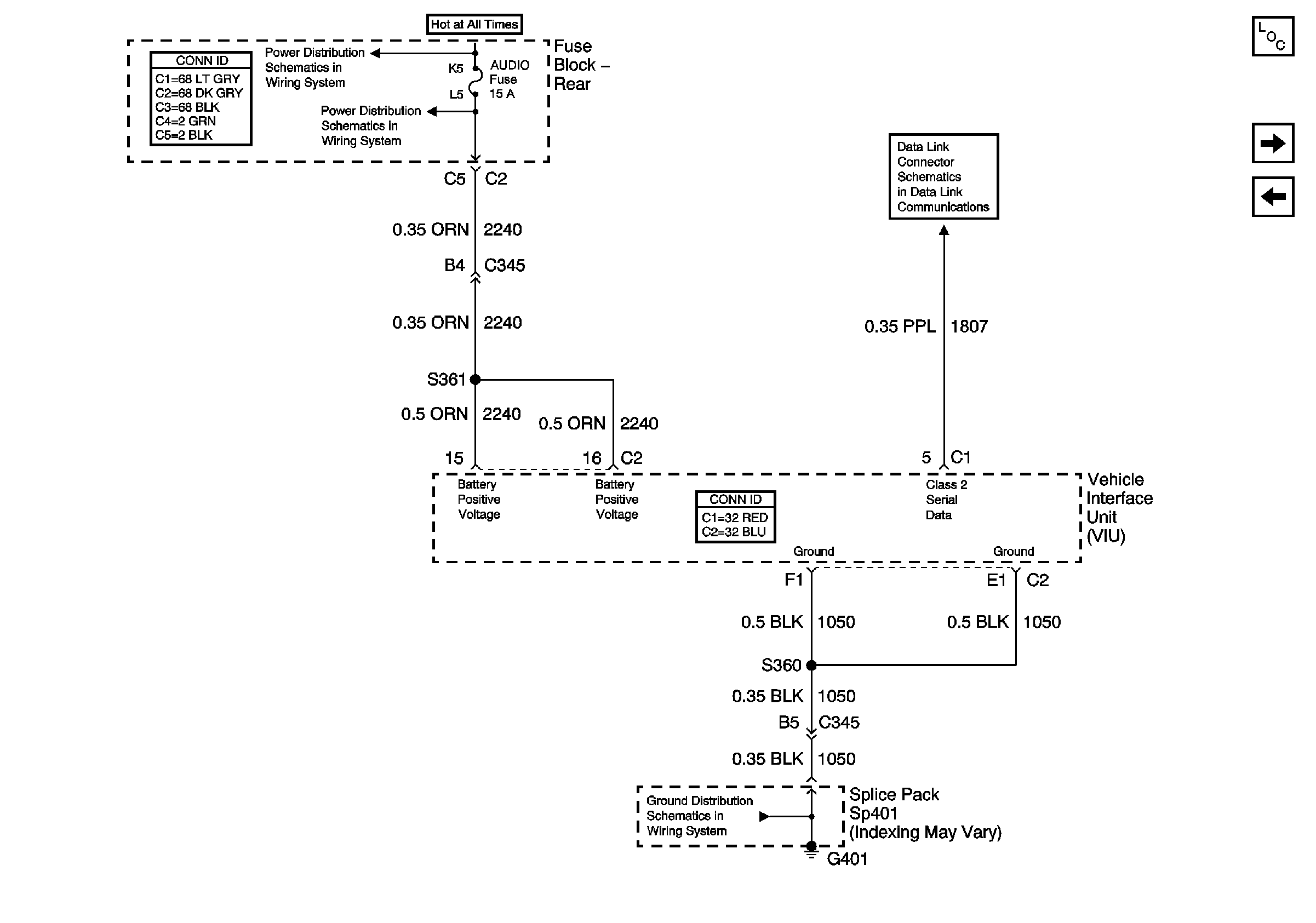
🢒 AUDIO (On Star) Fuse (Fuse Block Rear)
AUDIO (On Star) Fuse (Fuse Block Rear)
AUDIO (On Star) Fuse (Fuse Block Rear)
Master Electrical Component List
IP, CIGAR, AUX PWR and C/LTR Fuses and CIGAR Relay (Fuse Block Rear)
T SIG/HAZ, STOP LP, AUDIO and CD Fuses (Fuse Block Rear)
G401 (2 of 2)
Battery Feed to Rear Fuse Block
Battery Feed to Rear Fuse Block
Serial Data Class 2