GM Service Manual Online
For 1990-2009 cars only
Makes
🢒
Chevrolet
🢒
2002
🢒
Chevy C Silverado - 2WD
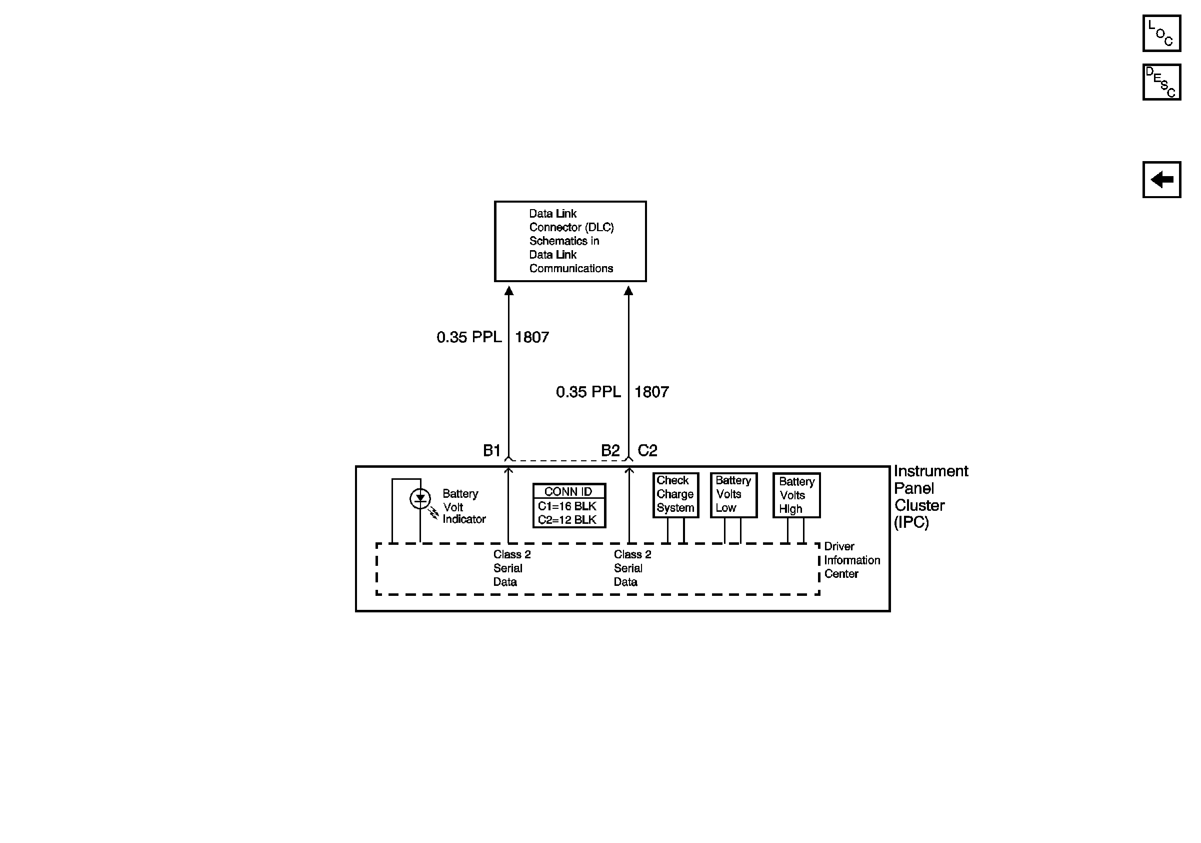
🢒 Instrument Panel Cluster (IPC) Displays
Instrument Panel Cluster (IPC) Displays
Instrument Panel Cluster (IPC) Displays
Master Electrical Component List
Generator Controls and Battery
Serial Data Class 2