GM Service Manual Online
For 1990-2009 cars only
Makes
🢒
Chevrolet
🢒
2002
🢒
Chevy C Silverado - 2WD
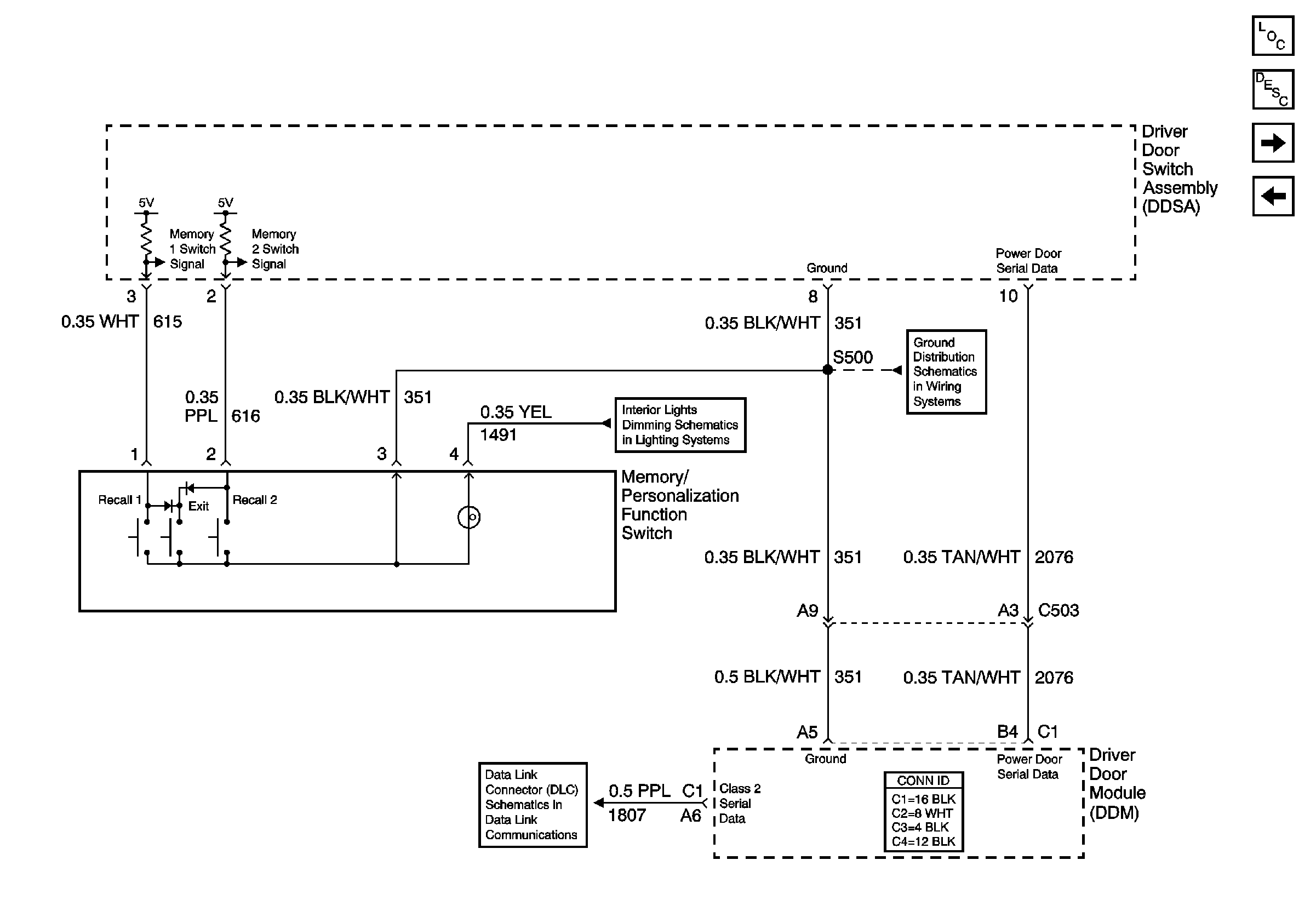
🢒 Memory Function Switch
Memory Function Switch
Memory Function Switch
Master Electrical Component List
Vertical and Horizontal Motors and Sensors
Power, Ground, Driver Seat Switch and Memory Seat Module (MSM)
Serial Data Class 2
Dimming Control