GM Service Manual Online
For 1990-2009 cars only
Makes
🢒
Chevrolet
🢒
2002
🢒
Chevy C Silverado - 2WD
🢒 Dimming Control
Dimming Control
Dimming Control
Master Electrical Component List
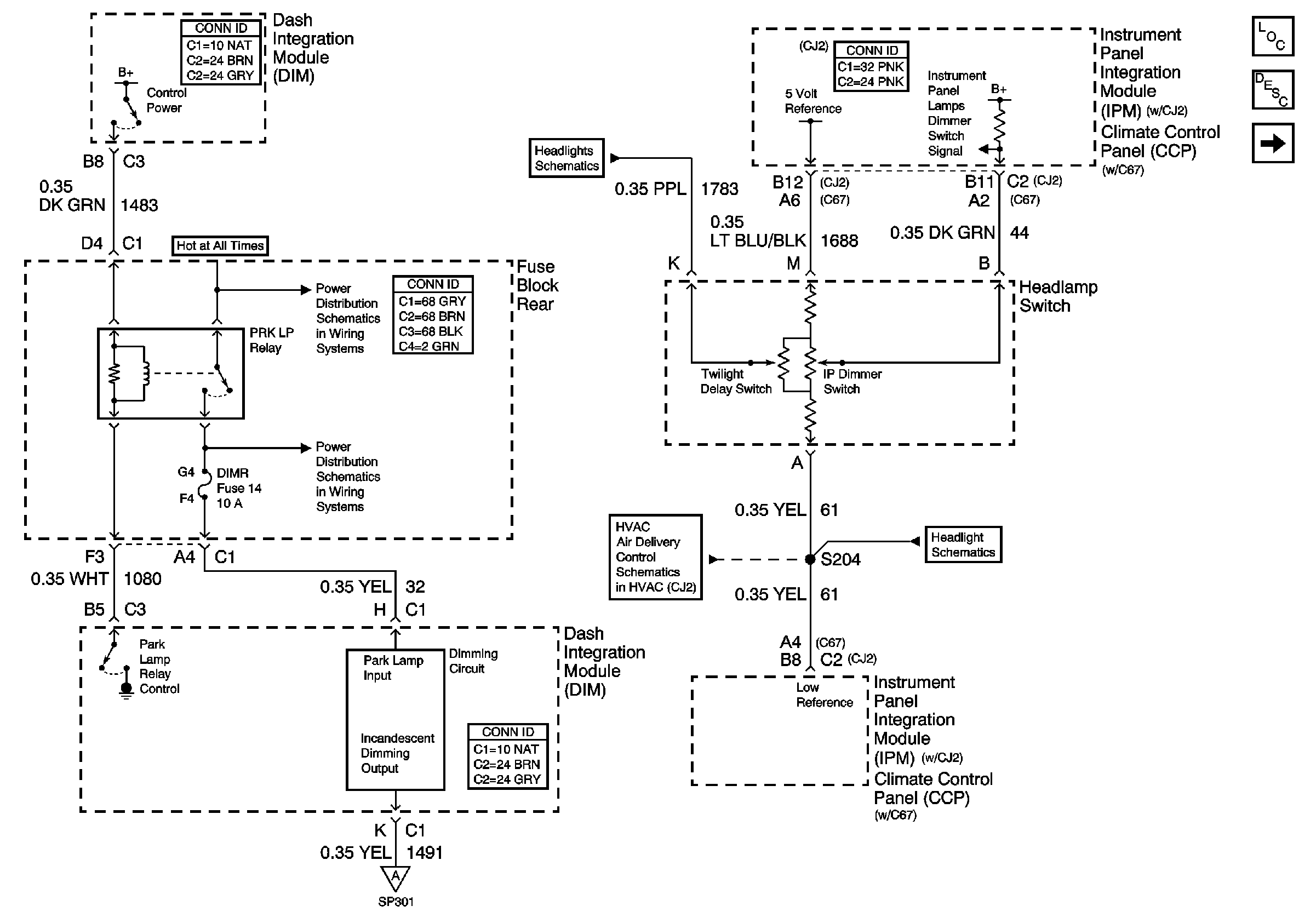
Instrument Panel And Console Dimming
Headlamp Switch and Sunload Sensor Assembly (w/CJ2)
Temperature Sensors (w/CJ2)
Instrument Panel And Console Dimming
PRK LP Relay, LP PK L, LP PK R, and DIMR Fuses (Fuse Block Rear)
PRK LP Relay, LP PK L, LP PK R, and DIMR Fuses (Fuse Block Rear)
G203 and G204 (Utility w/ Manual A/C)