GM Service Manual Online
For 1990-2009 cars only

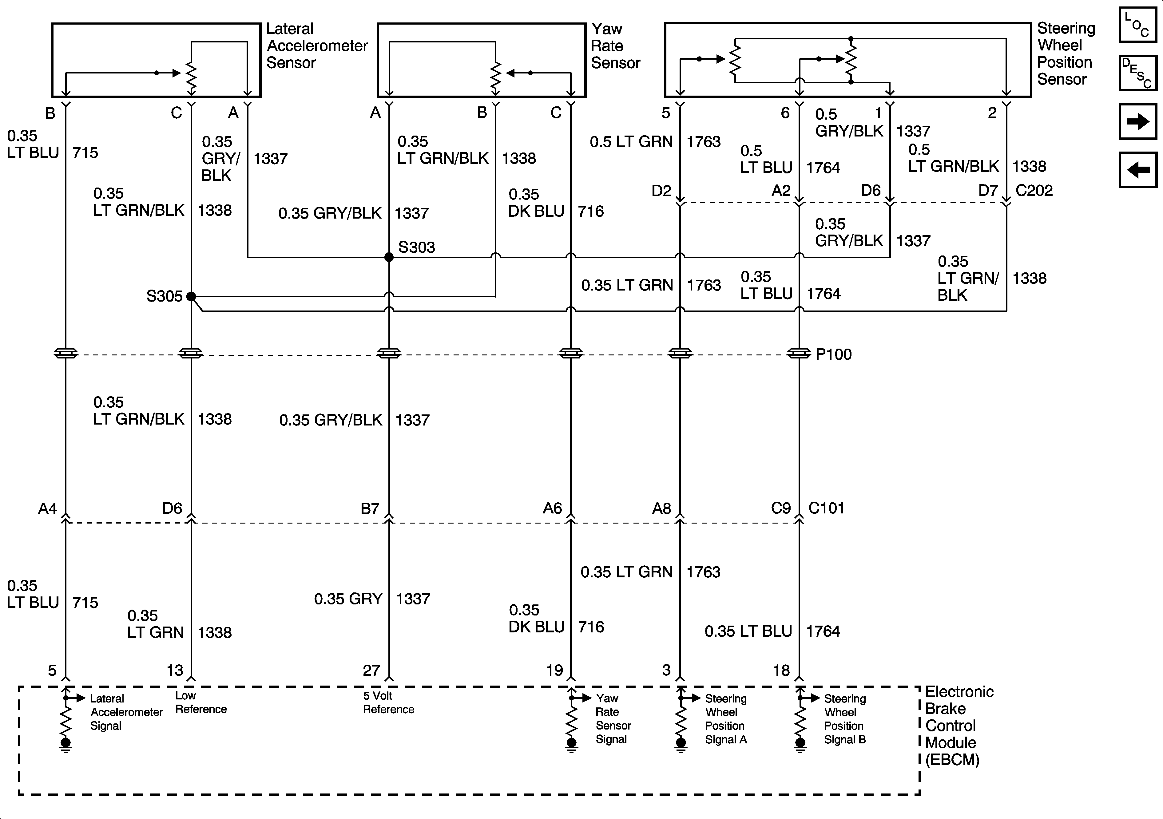
Vehicle Stability Enhancement System (w/JL4)

Vehicle Stability Enhancement System (w/JL4)


Object Number: 685050  Size: FS
Master Electrical Component List
Traction Control (w/NW9)
Wheel Speed Sensors