GM Service Manual Online
For 1990-2009 cars only
Makes
🢒
Chevrolet
🢒
2002
🢒
Chevy C Silverado - 2WD
🢒 Traction Control (w/NW9)
Traction Control (w/NW9)
Traction Control (w/NW9)
Master Electrical Component List
Indicators and Traction Control Switch
Vehicle Stability Enhancement System (w/JL4)
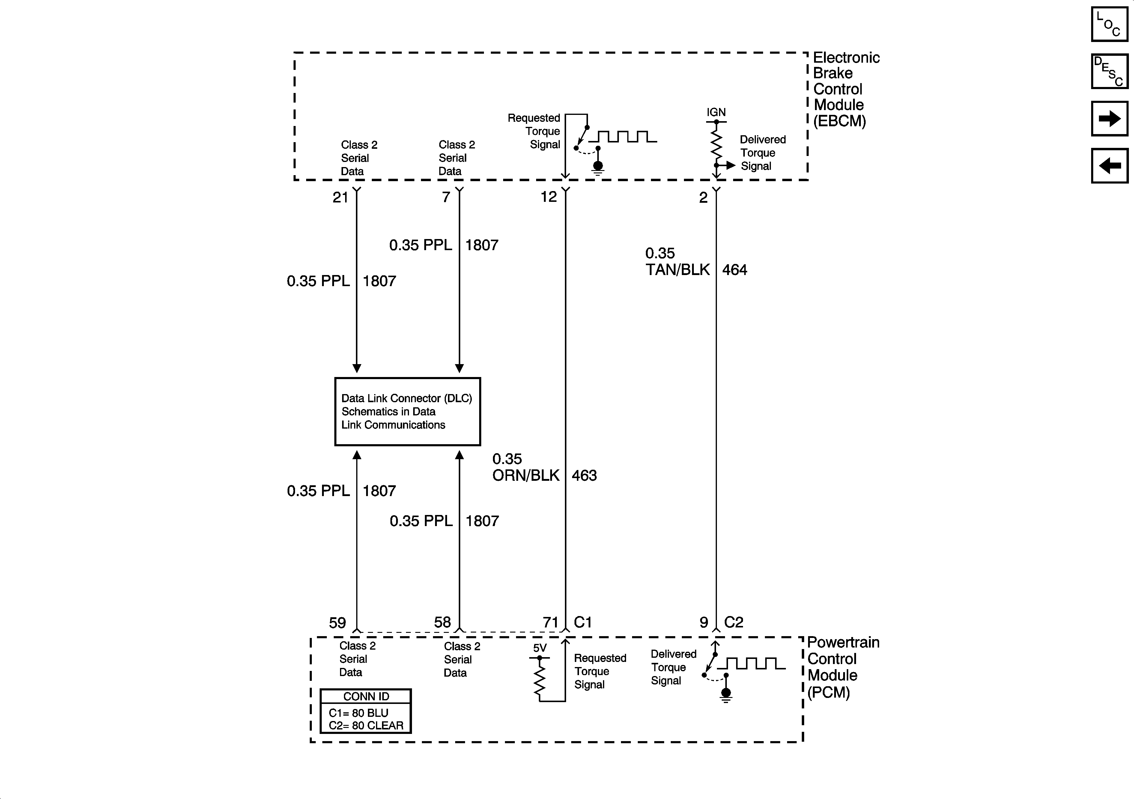
Serial Data Class 2