GM Service Manual Online
For 1990-2009 cars only
Makes
🢒
Chevrolet
🢒
2002
🢒
Chevy C Silverado - 2WD
🢒 Fuel Controls - Fuel Pump Controls
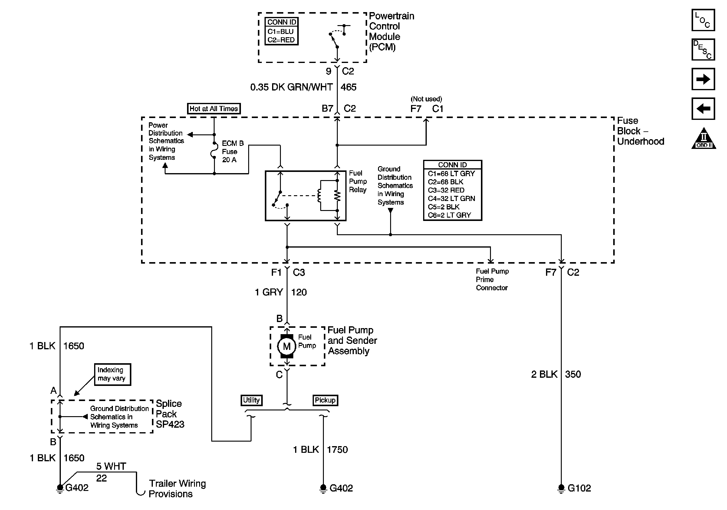
Fuel Controls - Fuel Pump Controls
Fuel Controls - Fuel Pump Controls
Master Electrical Component List
Fuel System Description
Fuel Controls - Fuel Injector Controls
Ignition Controls - Ignition System and Sensors
OBD II Symbol Description Notice
B+ Bus Bar
G102 (Except Export)
G402 and G421 (Utility)