GM Service Manual Online
For 1990-2009 cars only
Makes
🢒
Chevrolet
🢒
2002
🢒
Chevy C Silverado - 2WD
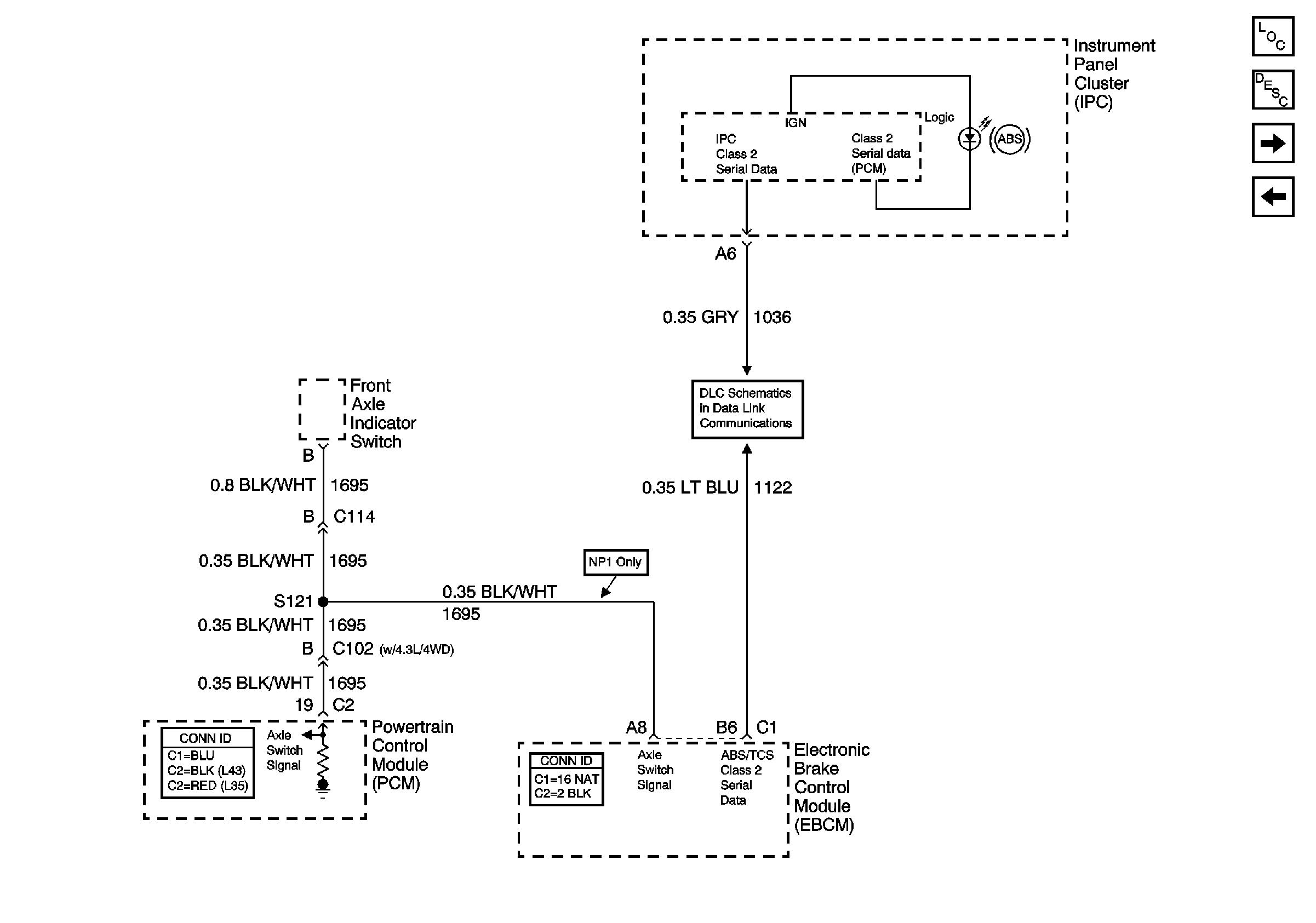
🢒 Class 2 Communication
Class 2 Communication
Class 2 Communication
Master Electrical Component List
ABS Description and Operation
Speed Sensor Signals
Power and Ground
SP201 (4.3L)