GM Service Manual Online
For 1990-2009 cars only
Makes
🢒
Chevrolet
🢒
2002
🢒
Chevy C Silverado - 2WD
🢒 Power and Ground
Power and Ground
Power and Ground
Master Electrical Component List
Instrument Cluster Description and Operation
Indicators
AUX PWR, RDO BATT and HDLP SW Fuses
AUX PWR, RDO BATT and HDLP SW Fuses
Power
Ign ACC, RUN and RAP Bus Bar
CRUISE Fuse, Multifunction Switch and Cruise Control Module
CRANK and CLSTR Fuses
TURN, SIR and GAUGES Fuses
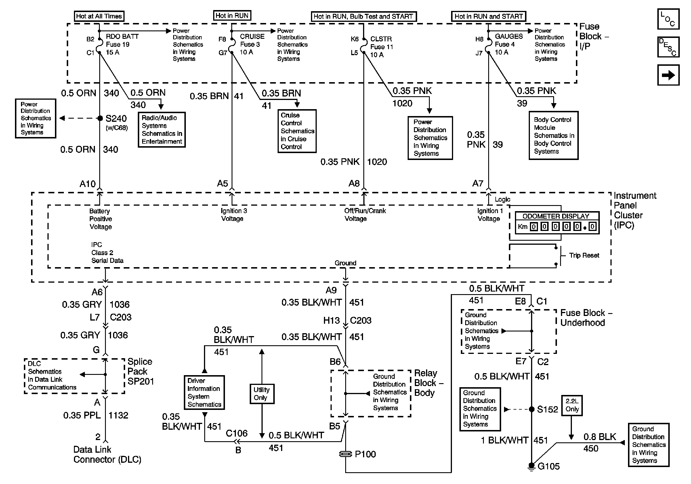
Power and Ground
SP201 (4.3L)
Power and Ground (w/ Trip Computer)
G103 and G105 (2.2 L)
G103 and G105 (2.2 L)
G103 and G105 (2.2 L)
G103 and G105 (2.2 L)