GM Service Manual Online
For 1990-2009 cars only
Makes
🢒
Chevrolet
🢒
2002
🢒
Chevy C Silverado - 2WD
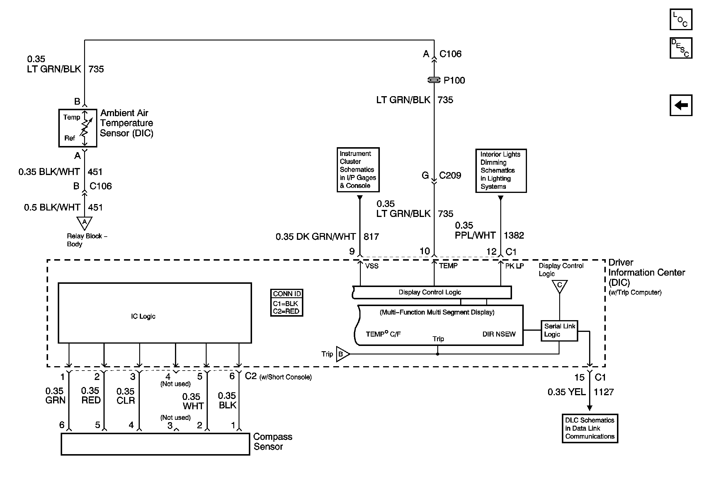
🢒 Air Temperature Sensor - Outside (w/ Trip Computer)
Air Temperature Sensor - Outside (w/ Trip Computer)
Air Temperature Sensor - Outside - w/ Trip Computer
Master Electrical Component List
Driver Information Center (DIC) Description and Operation
Power and Ground (w/ Trip Computer)
Power and Ground (w/ Trip Computer)
Gages
Seat Belt Schematics
Power and Ground (w/ Trip Computer)
Power and Ground (w/ Trip Computer)
SP201 (4.3L)