GM Service Manual Online
For 1990-2009 cars only
Makes
🢒
Chevrolet
🢒
2002
🢒
Chevy C Silverado - 2WD
🢒 BCM
BCM
BCM
Master Electrical Component List
Radio/Audio System Description and Operation w/o CTF
Speakers (Regular Cab and Extended Cab w/ 3rd Door)
Ground
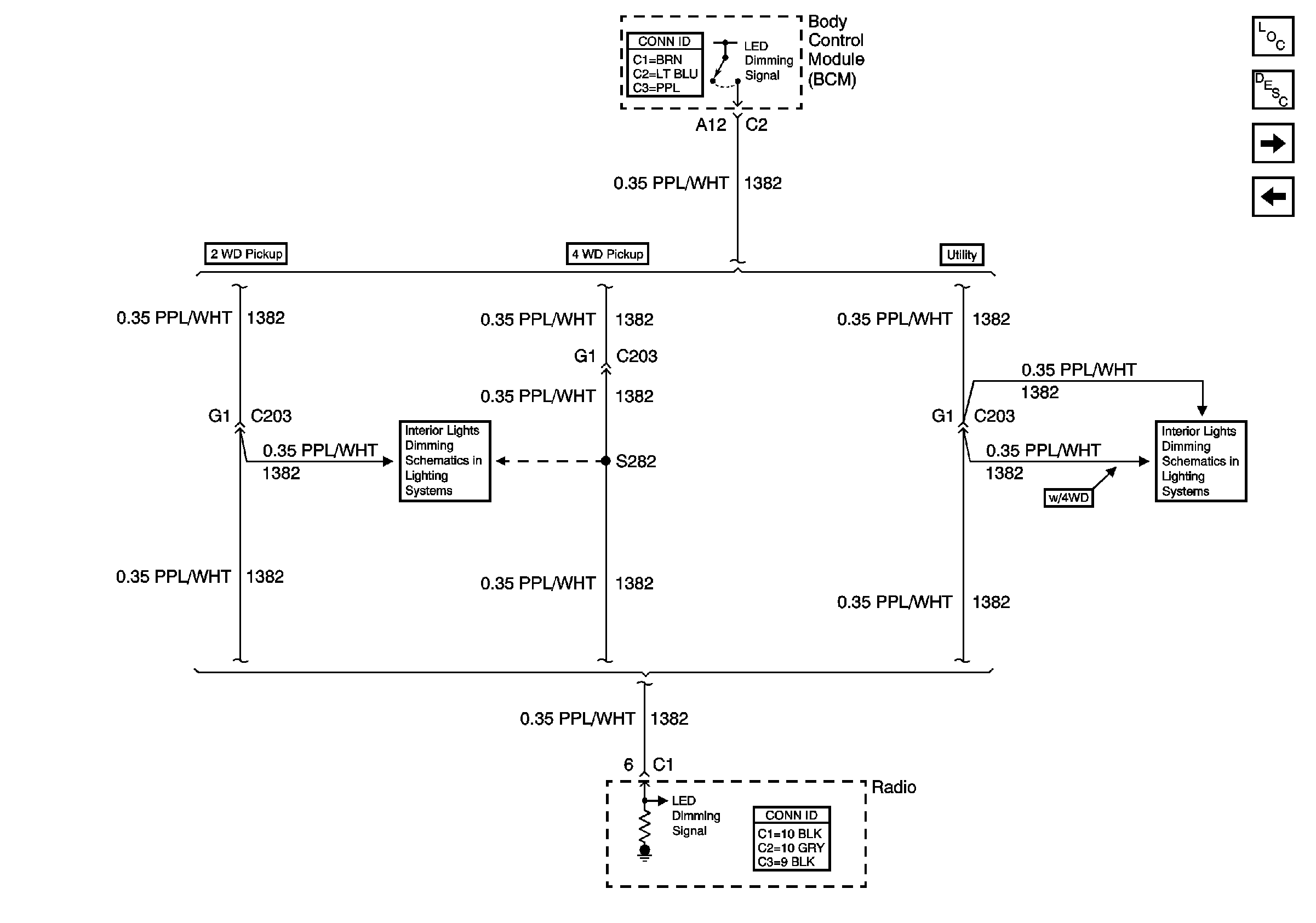
LED Dimming Signal
LED Dimming Signal