GM Service Manual Online
For 1990-2009 cars only
Makes
🢒
Chevrolet
🢒
2002
🢒
Chevy C Silverado - 2WD
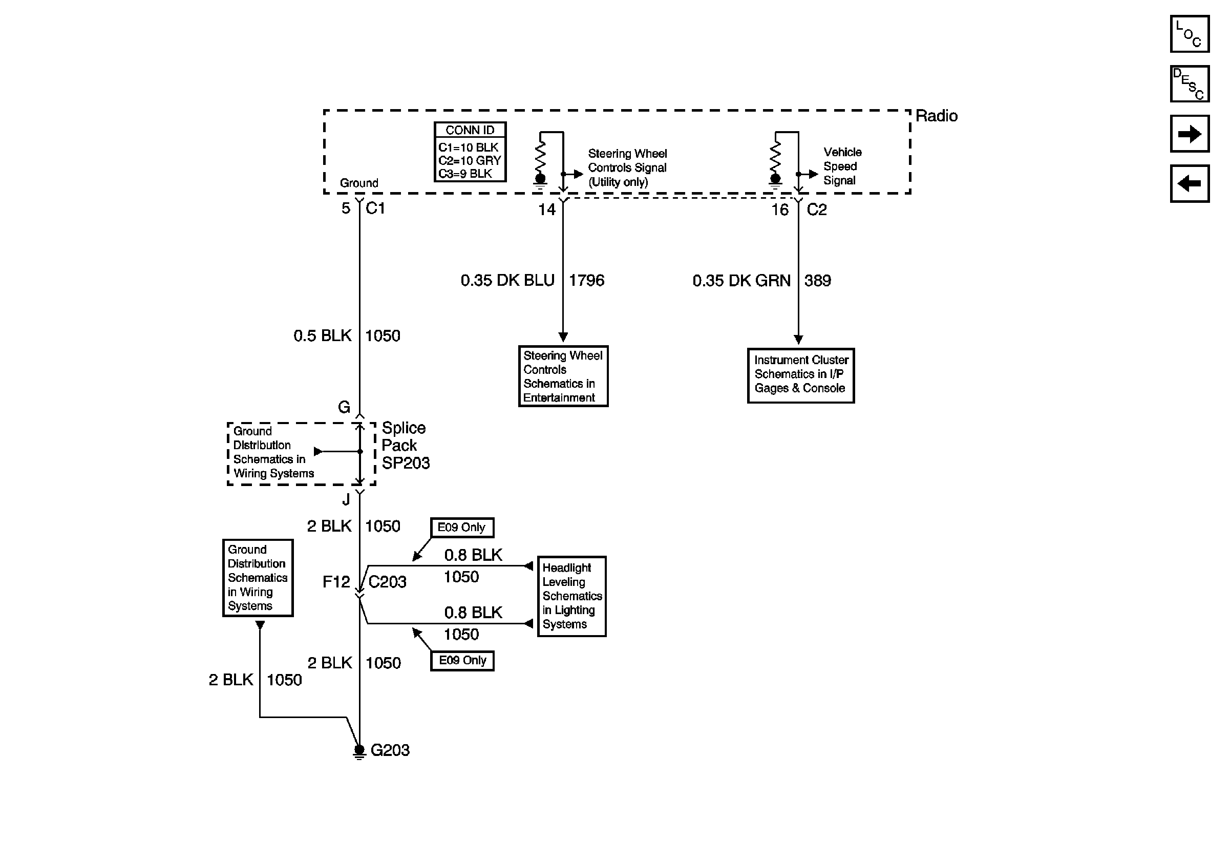
🢒 Ground
Ground
Ground
Master Electrical Component List
Radio/Audio System Description and Operation w/o CTF
BCM
Power
G203 and G204 (Utility w/ Manual A/C)
G203 and G204 (Utility w/ Manual A/C)
Steering Wheel Controls Schematics
Headlight Leveling Schematics
Gages