GM Service Manual Online
For 1990-2009 cars only
Makes
🢒
Chevrolet
🢒
2002
🢒
Chevy C Silverado - 2WD
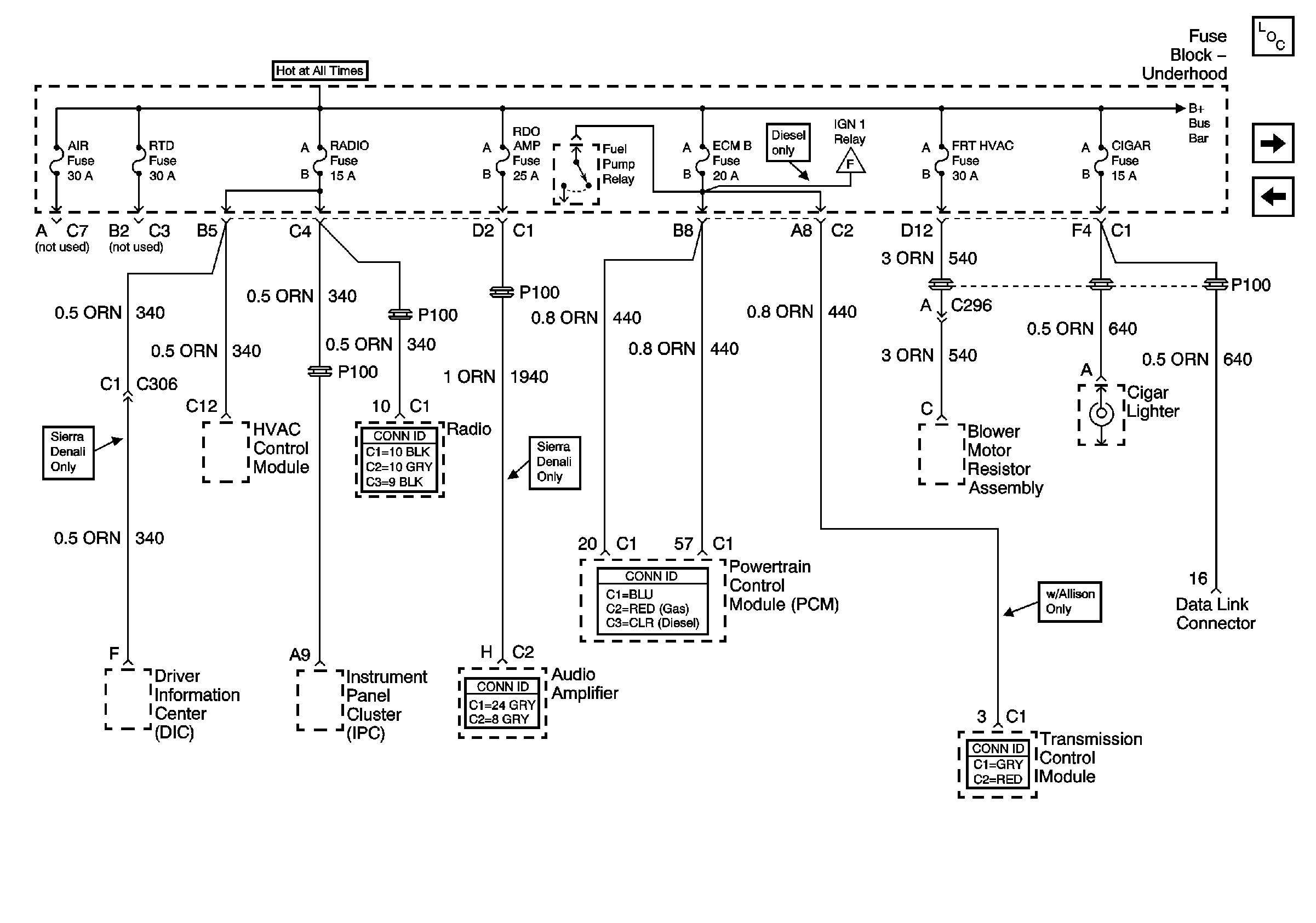
🢒 AIR, RTD, RADIO, RDO AMP, ECM B, FRT HVAC, and CIGAR Fuses
AIR, RTD, RADIO, RDO AMP, ECM B, FRT HVAC, and CIGAR Fuses
AIR, RTD, RADIO, RDO AMP, ECM B, FRT HVAC, and CIGAR Fuses
Master Electrical Component List
ECM I, FUEL HT, ENG 1, IGN E, ECMRPV, and INJ B
02B, 02A, ENG 1, and IGN E Fuses - Gas Only
ECM I, FUEL HT, ENG 1, IGN E, ECMRPV, and INJ B
B+ Bus Bar