GM Service Manual Online
For 1990-2009 cars only
Makes
🢒
Chevrolet
🢒
2002
🢒
Chevy C Silverado - 2WD
🢒 Power, Ground, Class 2 Communication (w/o Traction Assist)
Power, Ground, Class 2 Communication (w/o Traction Assist)
Power, Ground, Class 2 Communication (w/o Traction Assist)
Master Electrical Component List
ABS Description and Operation
Speed Sensor Signals (w/o Traction Assist)
BRAKE, Cruise, HTR A/C, RR WPR, WS WPR, and SEO ACCY Fuses
ABS, HAZ LP, STUD 1, HTD MIR, RR DEFOG, STUD 2, CTSY LP, and PARK LP Fuses
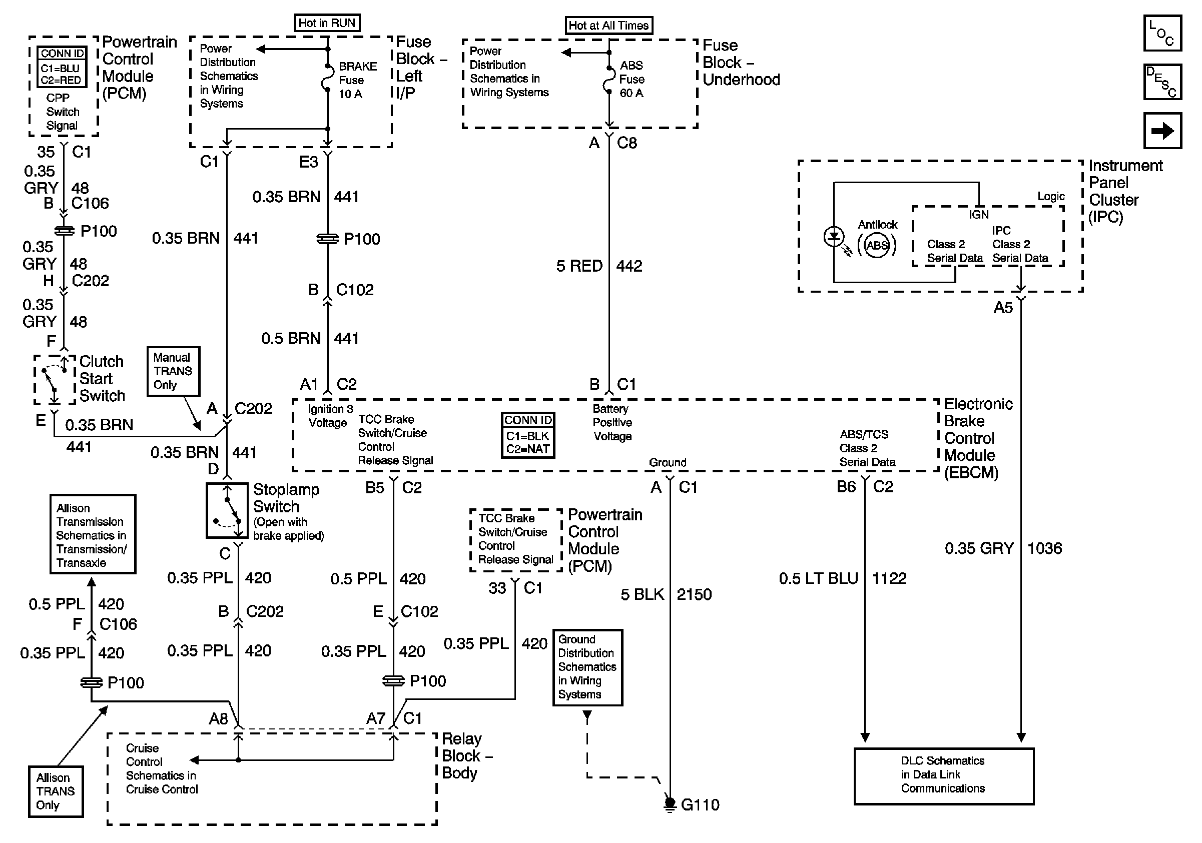
Power, Ground, and Stop Lamp Switch TCC Signal Circuit
Cruise Control Module , Clutch Start Switch, and Stop Lamp Switch - Gas w/o ETC
G100 and G110
Splice Pack SP205
Controlled/Monitored Subsystem References