GM Service Manual Online
For 1990-2009 cars only
Makes
🢒
Chevrolet
🢒
2002
🢒
Chevy C Silverado - 2WD
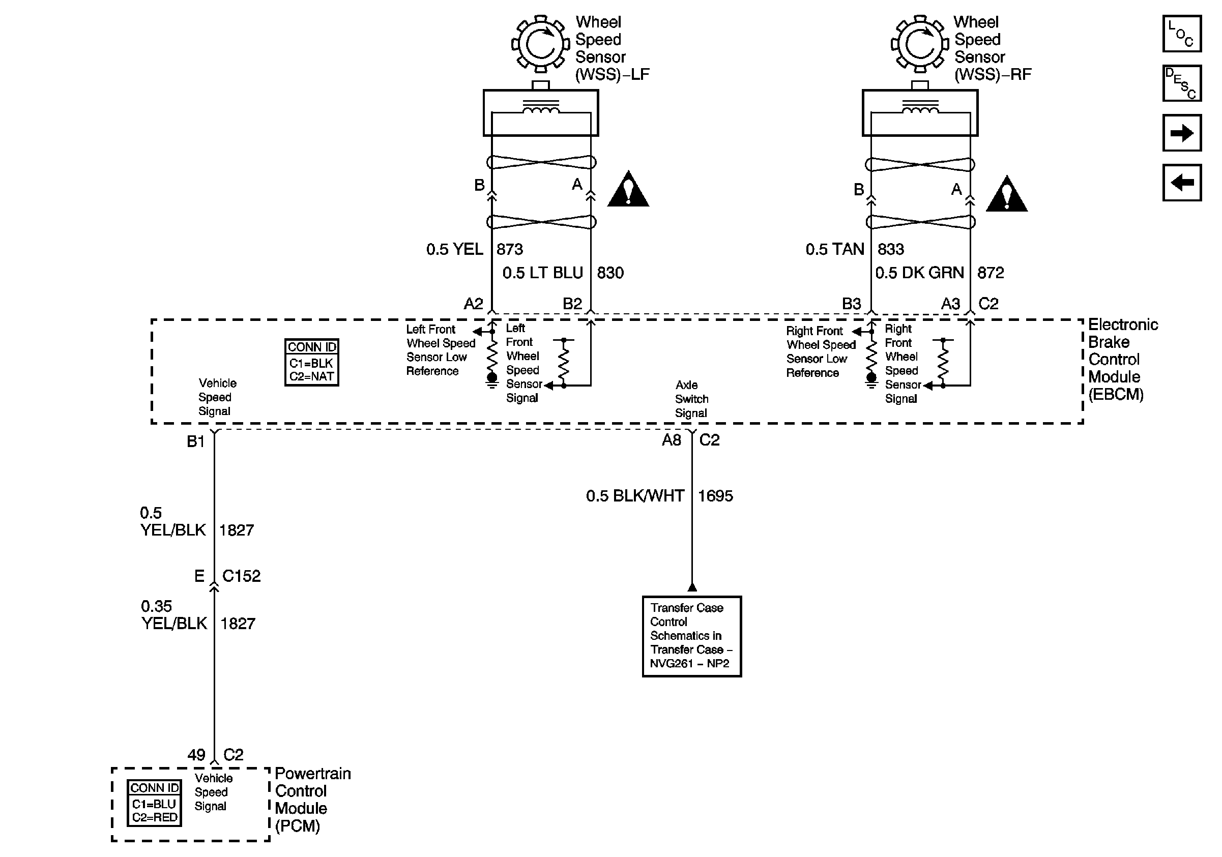
🢒 Speed Sensor Signals (w/o Traction Assist)
Speed Sensor Signals (w/o Traction Assist)
Speed Sensor Signals (w/o Traction Assist)
Master Electrical Component List
ABS Description and Operation
Power, Ground, Class 2 Communication (w/Traction Assist)
Power, Ground, Class 2 Communication (w/o Traction Assist)
G104 - Gas
G104 - Gas