GM Service Manual Online
For 1990-2009 cars only
Makes
🢒
Chevrolet
🢒
2002
🢒
Chevy C Silverado - 2WD
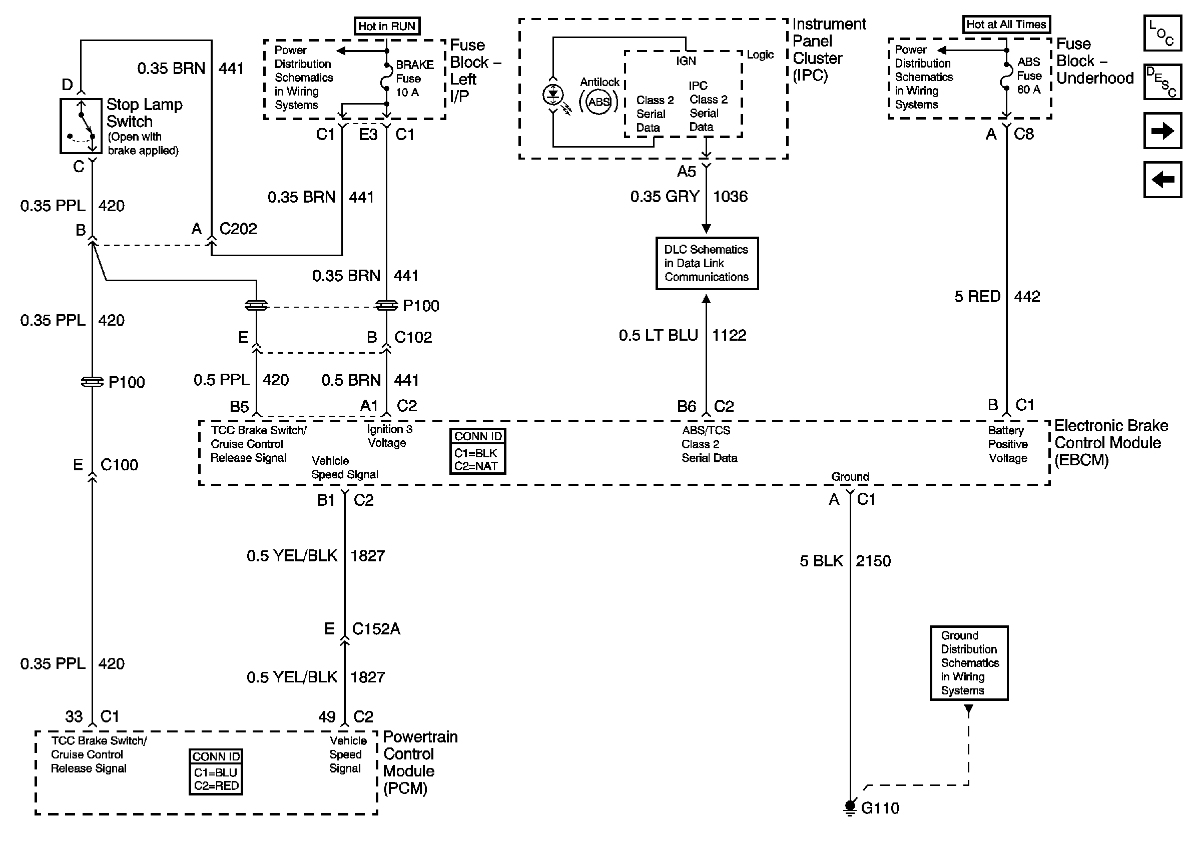
🢒 Power, Ground, Class 2 Communication (w/Traction Assist)
Power, Ground, Class 2 Communication (w/Traction Assist)
Power, Ground, Class 2 Communication (w/Traction Assist)
Master Electrical Component List
ABS Description and Operation
Speed Sensor Signals, Traction Control Switch (w/Traction Assist)
Speed Sensor Signals (w/o Traction Assist)
BRAKE, Cruise, HTR A/C, RR WPR, WS WPR, and SEO ACCY Fuses
ABS, HAZ LP, STUD 1, HTD MIR, RR DEFOG, STUD 2, CTSY LP, and PARK LP Fuses
Splice Pack SP205
G104 - Gas
G104 - Gas
G100 and G110