GM Service Manual Online
For 1990-2009 cars only
Makes
🢒
Chevrolet
🢒
2002
🢒
Chevy C Silverado - 2WD
🢒 Power and Ground
Power and Ground
Power and Ground
Master Electrical Component List
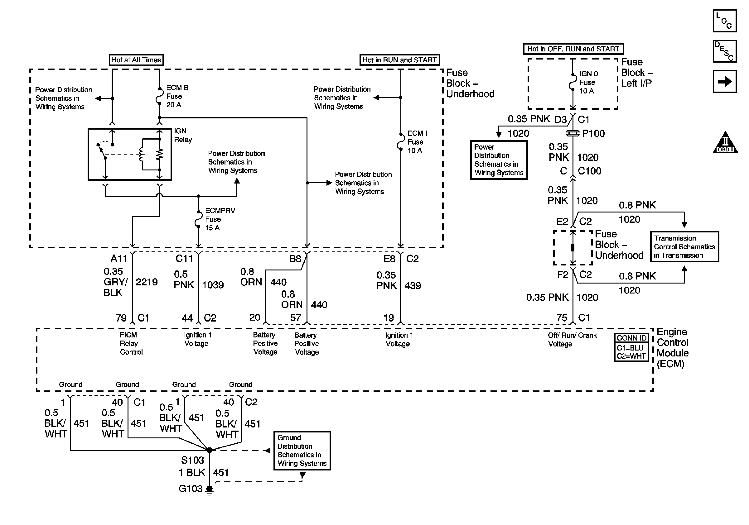
Engine Control Module Description
MIL Control and Serial Data
OBD II Symbol Description Notice
B+ Bus Bar
ECM I, FUEL HT, ENG 1, IGN E, ECMRPV, and INJ B
ECM I, FUEL HT, ENG 1, IGN E, ECMRPV, and INJ B
AIR, RTD, RADIO, RDO AMP, ECM B, FRT HVAC, and CIGAR Fuses
IGN 1, TURN, SEO IGN, AIR BAG, CRANK, and IGN 0 Fuses
G103 and G105 - Gas
IGN 1, TURN, SEO IGN, AIR BAG, CRANK, and IGN 0 Fuses