GM Service Manual Online
For 1990-2009 cars only
Makes
🢒
Chevrolet
🢒
2002
🢒
Chevy C Silverado - 2WD
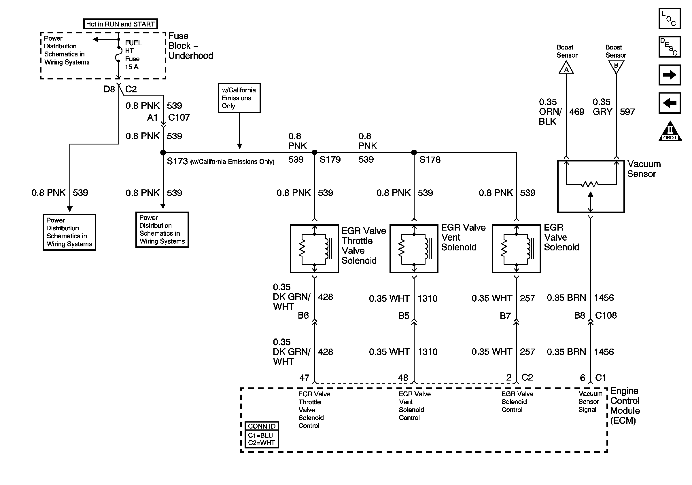
🢒 Engine Data Sensors - EGR and Vacuum - California Emissions Only
Engine Data Sensors - EGR and Vacuum - California Emissions Only
Engine Data Sensors - EGR and Vacuum - California Emissions only
Master Electrical Component List
Engine Control Module Description
Engine Data Sensors - Pedal Position
Engine Data Sensors - Pressure and Temperature
OBD II Symbol Description Notice
ECM I, FUEL HT, ENG 1, IGN E, ECMRPV, and INJ B
ECM I, FUEL HT, ENG 1, IGN E, ECMRPV, and INJ B
ECM I, FUEL HT, ENG 1, IGN E, ECMRPV, and INJ B
Engine Data Sensors - Pressure and Temperature
Engine Data Sensors - Pressure and Temperature