GM Service Manual Online
For 1990-2009 cars only
Makes
🢒
Chevrolet
🢒
2002
🢒
Chevy C Silverado - 2WD
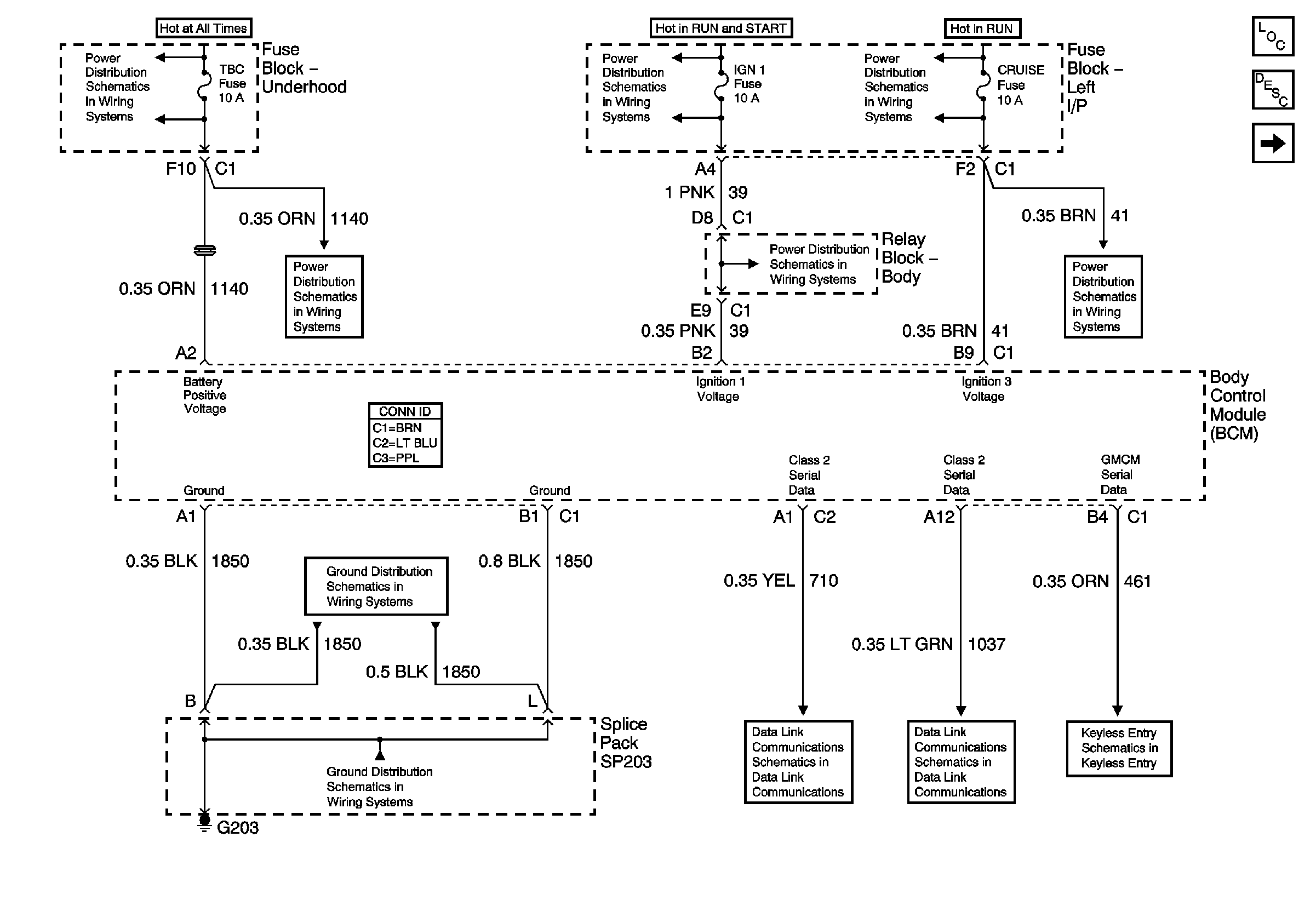
🢒 Power, Ground, and Serial Data
Power, Ground, and Serial Data
Power, Ground, and Serial Data
Master Electrical Component List
Body Control System Description and Operation
Exterior Lighting Systems References
TBC, FOG LP, LT HDLP, and RT HDLP Fuses
IGN 1, TURN, SEO IGN, AIR BAG, CRANK, and IGN 0 Fuses
BRAKE, Cruise, HTR A/C, RR WPR, WS WPR, and SEO ACCY Fuses
TBC, FOG LP, LT HDLP, and RT HDLP Fuses
AUX PWR and HORN Fuses
BRAKE, Cruise, HTR A/C, RR WPR, WS WPR, and SEO ACCY Fuses
G203 - 1 of 3
G203 - 1 of 3
Splice Pack SP205
Splice Pack SP205
Keyless Entry Schematics