GM Service Manual Online
For 1990-2009 cars only
Makes
🢒
Chevrolet
🢒
2002
🢒
Chevy C Silverado - 2WD
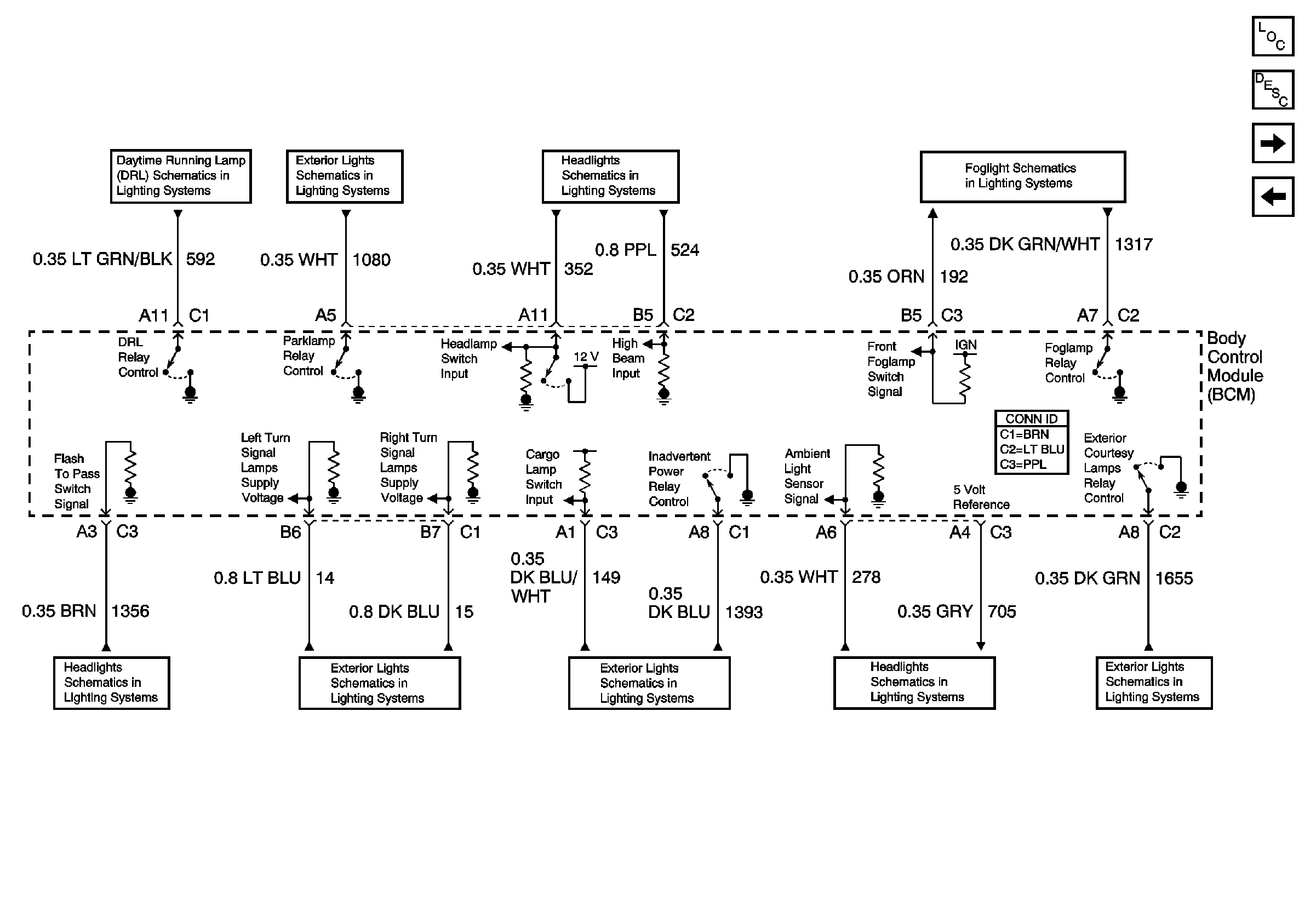
🢒 Exterior Lighting Systems References
Exterior Lighting Systems References
Exterior Lighting Systems References
Master Electrical Component List
Body Control System Description and Operation
Interior Lighting Systems References
Power, Ground, and Serial Data
02 GMT800 Daytime Running Lamps
Park Lamp Control
02 GMT800 Headlight Schematics
02 GMT800 Fog Lamps Schematics
02 GMT800 Headlight Schematics
Park/Turn Signal Lamps
Courtesy Lamp Control - 2 of 2
02 GMT800 Headlight Schematics
Exterior Illumination Control