GM Service Manual Online
For 1990-2009 cars only
Makes
🢒
Chevrolet
🢒
2002
🢒
Chevy C Silverado - 2WD
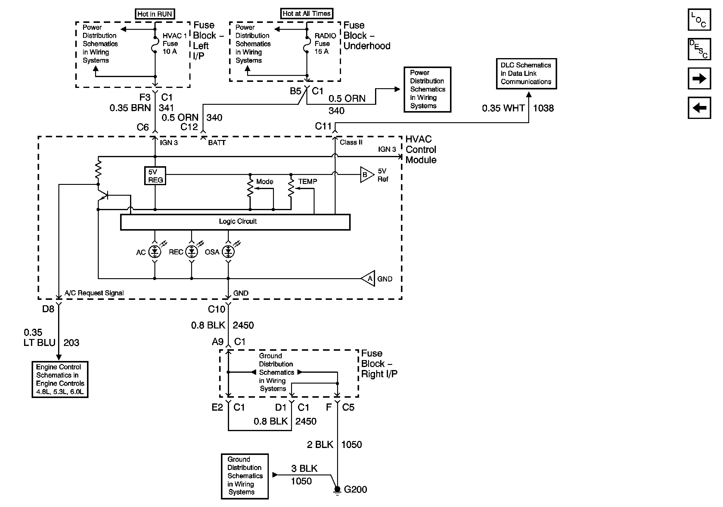
🢒 Air Delivery Controls-HVAC Control Assembly Power, Ground and Serial Data
Air Delivery Controls-HVAC Control Assembly Power, Ground and Serial Data
Air Delivery Controls-HVAC Control Assembly Power, Ground and Serial Data
Ignition, Run, Accessory, and RAP Bus Bars - RAP#1 and RAP#2 Fuses
AIR, RTD, RADIO, RDO AMP, ECM B, FRT HVAC, and CIGAR Fuses
AIR, RTD, RADIO, RDO AMP, ECM B, FRT HVAC, and CIGAR Fuses
Air Delivery Controls - Actuators
Air Delivery Controls - Actuators
G200
Compressor Controls
G200
Master Electrical Component List
Air Delivery Description and Operation
Air Delivery Controls - Actuators
Compressor Controls