GM Service Manual Online
For 1990-2009 cars only
Makes
🢒
Chevrolet
🢒
2003
🢒
Chevy C Silverado - 2WD
🢒
Suspension
🢒
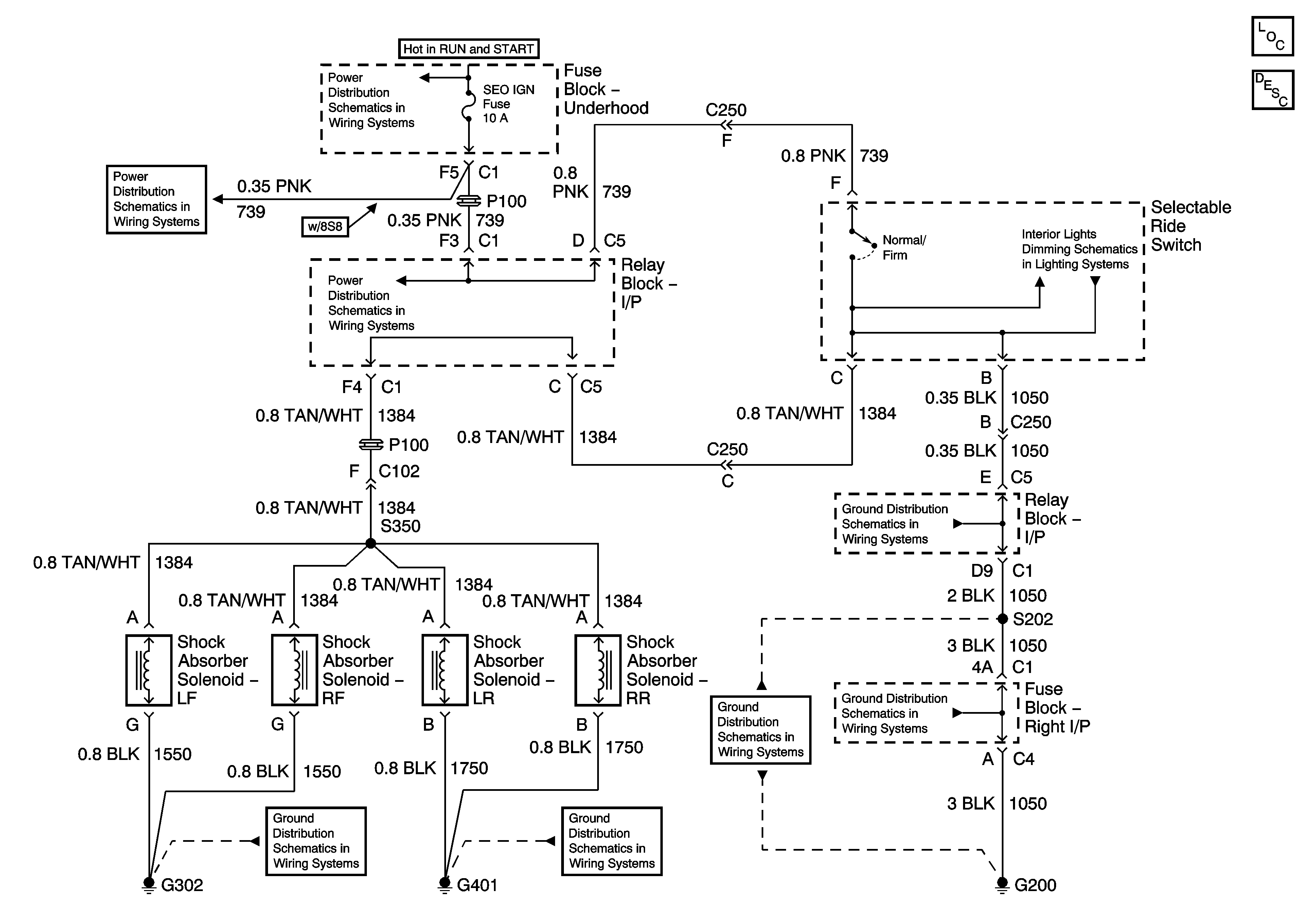
Selectable Ride
🢒 Suspension Controls Schematics
Master Electrical Component List
Selectable Ride Description and Operation
IGN 1 Relay Bus, SEO 2, RR DEFOG, SEO IGN, B/U LP
IGN 1 Relay Bus, SEO 2, RR DEFOG, SEO IGN, B/U LP
IGN 1 Relay Bus, SEO 2, RR DEFOG, SEO IGN, B/U LP
LED Dimming Supply Voltage - 3 of 3
G200-3 of 3
G200-1 of 3
G200-1 of 3
G401, G402
G302