GM Service Manual Online
For 1990-2009 cars only
Makes
🢒
Chevrolet
🢒
2003
🢒
Chevy C Silverado - 2WD
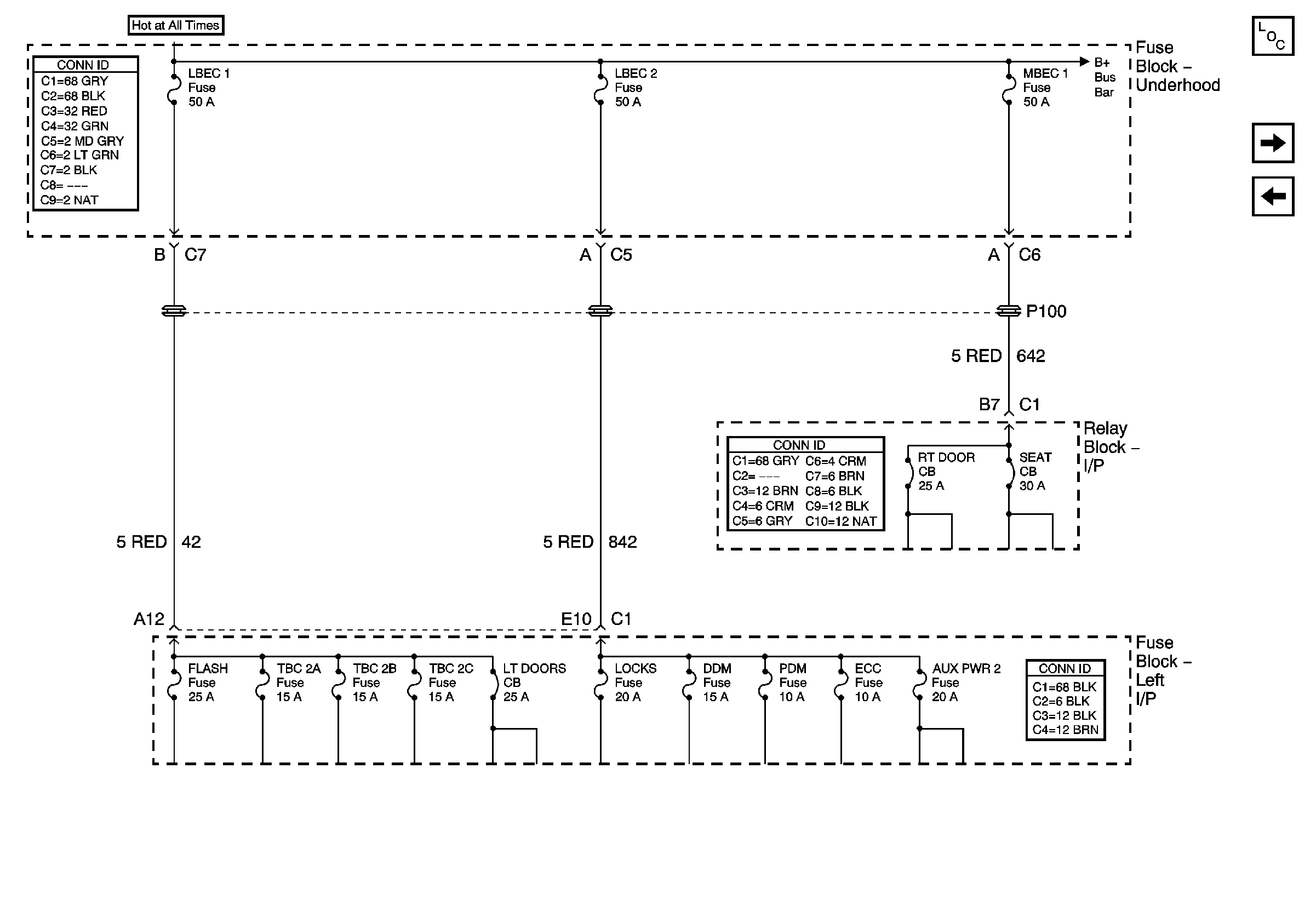
🢒 LBEC 1, LBEC 2, MBEC 1
LBEC 1, LBEC 2, MBEC 1
LBEC 1,LBEC 2, MBEC 1
Master Electrical Component List
IGN 1 Relay Bus, SEO 2, RR DEFOG, SEO IGN, B/U LP
Ignition, Run, Start, Accy Bus Bar
B+ Bus Bar (Gas) - 1 of 3