GM Service Manual Online
For 1990-2009 cars only
Makes
🢒
Chevrolet
🢒
2004
🢒
Chevy C Silverado - 2WD
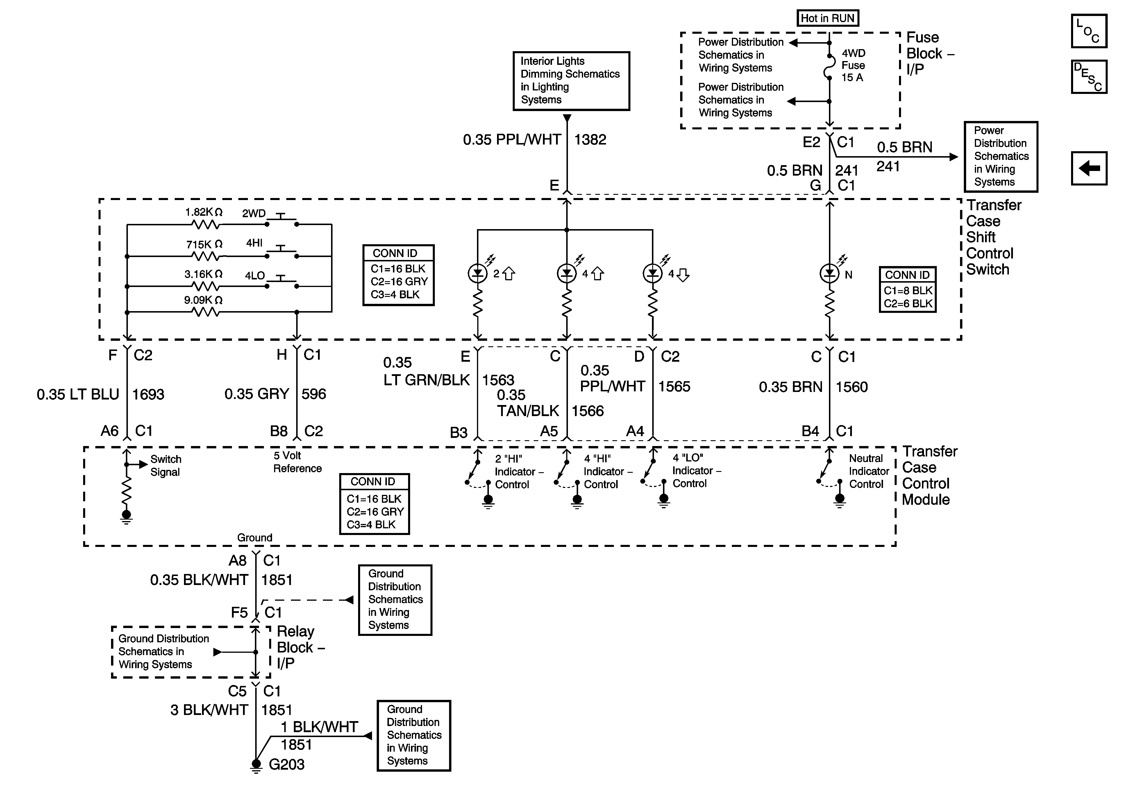
🢒 Shift Control Switch Inputs
Shift Control Switch Inputs
Shift Control Switch Inputs
Master Electrical Component List
Transfer Case Description and Operation
Front Axle Actuator Control
LED Dimming Supply Voltage - 2 of 3
Ignition Switch - START, RUN, and ACC/RUN/START Bus Bars
IGN 3, Cruise, and 4WD Fuses
IGN 3, Cruise, and 4WD Fuses
G203 - 2 of 3
G203 - 1 of 3
G203 - 1 of 3