GM Service Manual Online
For 1990-2009 cars only
Makes
🢒
Chevrolet
🢒
2004
🢒
Chevy C Silverado - 2WD
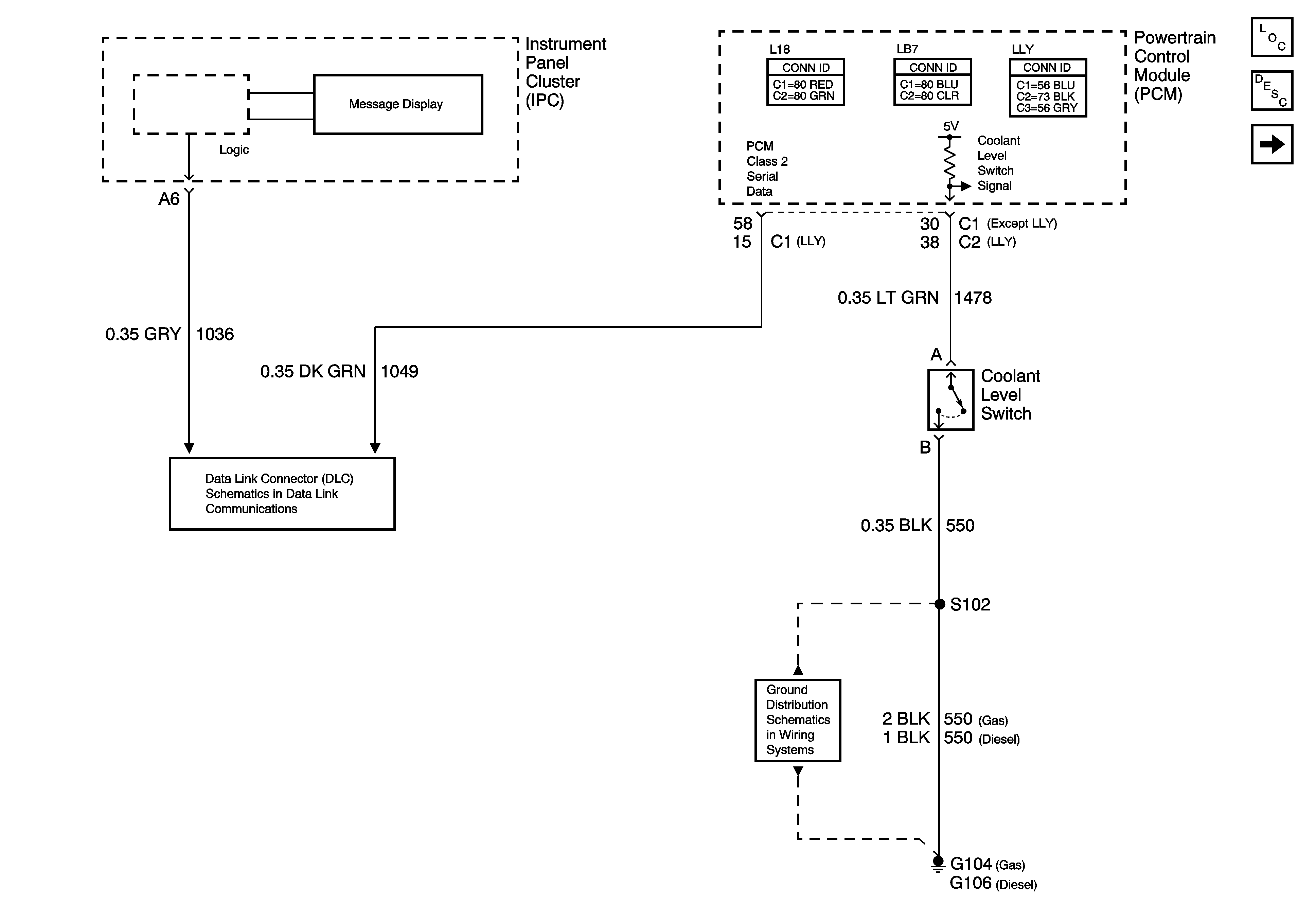
🢒 Coolant Level Indicator Control - Diesel and L18 Only
Coolant Level Indicator Control - Diesel and L18 Only
Coolant Level Indicator Control - Diesel and L18 Only
Master Electrical Component List
Cooling System Description and Operation
SP205 - 1 of 2
G104, G106, and G107
Auxiliary Heater Pump (HP2)