GM Service Manual Online
For 1990-2009 cars only
Makes
🢒
Chevrolet
🢒
2004
🢒
Chevy C Silverado - 2WD
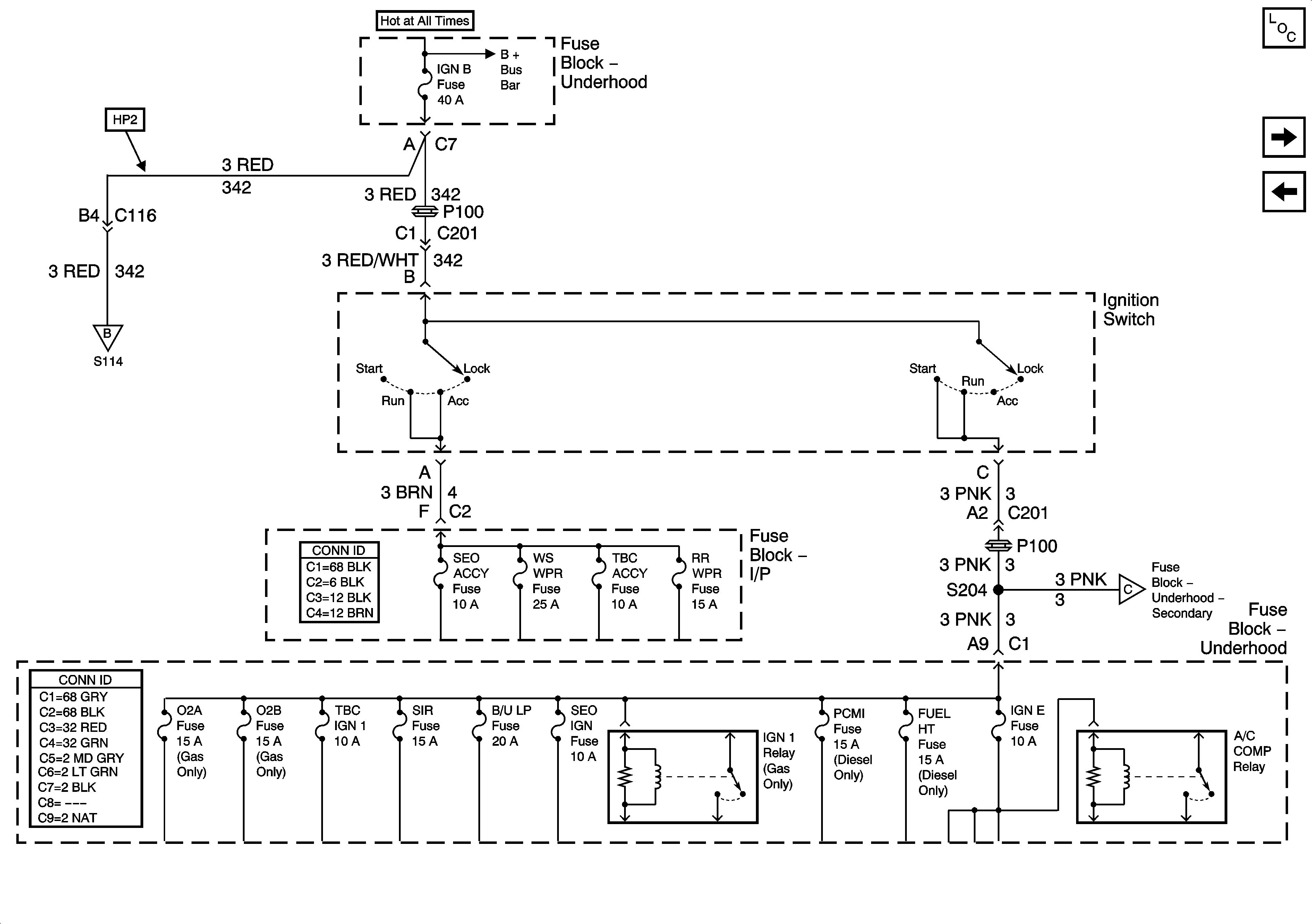
🢒 Ignition Switch - ACC/RUN and RUN/START Bus Bars
Ignition Switch - ACC/RUN and RUN/START Bus Bars
Ignition Switch - ACC/RUN and RUN/START Bus Bars
Master Electrical Component List
LBEC 1, LBEC 2, and MBEC 1 Fuses
Ignition Switch - START, RUN, and ACC/RUN/START Bus Bars
B+ Bus Bar - 1 of 2
Continuous Mode Bus Bar (HP2)
Continuous Mode Bus Bar (HP2)